Оригинальные каталоги
Масла и жидкости
Масла моторные
Масла трансмиссионные
Жидкости гидравлические
Жидкости охлаждающие
Жидкости тормозные
Масла гидравлические
Масла для вилок и амортизаторов
Масла компрессорные
Жидкости для стекол
Масла для цепей бензопил
Масла индустриальные
Масла промывочные
Раствор мочевины AdBlue
Автоэлектроника
Видеорегистраторы
Пылесосы автомобильные
FM трансмиттеры
Зарядные устройства
Разветвители, удлинители прикуривателя
Кабели
Вентиляторы автомобильные
Штекер прикуривателя
Датчик парктроника
Камеры заднего вида
Мониторы парковочные
Парктроники
Термометры
Накидки на сиденье с подогревом
Автохолодильники
Антирадары
Диагностический сканер
Аксессуары
Набор автомобилиста
Ароматизаторы
Тросы буксировочные
Канистры
Ремни крепления груза
Стяжки-резинки крепления
Сетки для крепления груза
Скотч
Влажные салфетки
Держатели телефонов, планшетов
Карты памяти
Наушники
Аккумулятор холода
Термосумки и контейнеры
Фонарики
Батарейки
Оплетки на руль
Огнетушители
Салфетки, полотенца, варежки
Инструмент
Домкраты
Компрессоры
Манометры
Насосы
Светильники переносные
Шарнирно-губцевый инструмент
Ударный инструмент
Метчики. Плашки
Заклёпочники
Заклёпки
Измерительный инструмент
Свёрла
Отвёртки
Изолента
Надфили. Напильники
Ножи, ножовки
Щётки
Абразивная бумага
Специнструмент
Ключи
Хомуты
Дрель-шуруповерт
Автохимия
Присадки
Промывки
Очистители
Смазки спрей
Смазки пластичные
Герметики
Средство для рук
Клей
Лакокрасочные материалы
Автошампуни
Полироли
Антифриз для тормозной системы
Масло для пропитки фильтров
Антикоррозионные составы
Прочее
Электрооборудование
Зарядные устройства
Инверторы
Конвертеры
Звуковые сигналы
Провода прикуривания
Предохранители
Противотуманные фары
Дневные ходовые огни
Электрика фаркопа
Шины и диски
Автошины
Грузовые шины
Мотошины
Камеры
Мотокамеры
Лента обода шины
Колпаки
Диски
Одежда и экипировка
Жилеты
Запчасти
Аккумуляторы
Лампы
Щетки стеклоочистителя
Гофры глушителя
Велотовары
Велосипеды
Самокаты
Велокамеры
Искать по VIN или номеру детали
Поиск по штрих-коду
Искать по VIN-номеру
Войти
Авторизация
Логин
Пароль
Напомнить пароль
Запомнить
Войти
Зарегистрироваться
Авторизоваться другим способом
Востановить пароль
Введите ваш email:
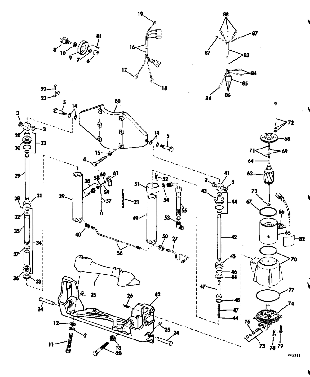
POWER TILT AND TRIM
Корзина пуста
Evinrude
50 E50BECTA
50 E50BECTA
POWER TILT AND TRIM
№
Наименование
Примечание
Кол-во
1
Детать
1
2
LOCKWASHER (WRL Models Only. 20 in. (508mm) Models Only.)
4
3
BUSHING 5-PK (005 per pack)
4
4
SCREW
6
5
SCREW UPR PIVOT
2
6
BOOT
1
7
NUT
1
8
SWITCH
1
9
Детать
1
10
NUT CHOK SWCH 40TTL Models Only
1
11
SCREW
2
11
SCREW
2
12
WASHER
4
13
Детать
2
14
WASHER
4
15
LOCKWASHER
6
16
Детать
1
17
RING TERMINAL
1
18
RING TERMINAL 0.312 in. (7.9mm) diameter
1
19
TERM. 40977
1
20
4 3/4" TRNSM BOLT
2
21
Детать
1
22
SCREW
2
23
CLAMP GAS LIN
2
24
PIN
2
25
Детать
2
26
SCREW
3
27
LINE AY TILT LWR
1
28
LOOP 1 3/8 in. (35mm) Diameter End Cap
1
29
Детать
1
30
END CAP TILT CYL 1 3/8 in. (35mm) Diameter End Cap
1
31
BEARING-PISTON
1
32
STOP PISTON ROD
1
33
KIT AY O-RING 1 3/8 in. (35mm) Diameter End Cap
1
34
BOBBIN AY
1
35
CARRIER TRIM PSTN
1
36
PISTON TRIM
1
37
RING PUSH ON
1
38
Детать
1
39
1 3/8 in. (35mm) Diameter End Cap
1
40
ELBOW
1
42
Детать
1
45
PISTON TILT CYL
1
46
O'RING GUIDE SEAL
1
47
RELIEF VLVE&STEM
1
48
RING RETAINING
1
49
1 3/8 in. (35mm) Diameter End Cap
1
50
Детать
1
51
Детать
1
52
NUT
1
53
ELBOW PUMP
1
54
O-RING (005 per pack)
1
55
LINE AY TILT UPPER
1
56
LINE AY
1
57
LEAD AY
1
59
WASHER
1
60
NUT
1
61
COVER TERM
1
62
Детать
1
63
ARMATURE AYtahos_00777
1
64
STEEL BALL
1
65
FRAME&FIELD AY
1
66
CONNECTOR
1
67
GASKET
2
68
HEAD AY tahos_00717
1
69
BRUSH KIT
1
70
RESERVR AYtahos_00887
1
71
SPRING SET tahos_00745
1
72
THRU BOLT PACKAGE
1
73
WASHER
0
74
Детать
1
75
Детать
1
76
O-RING FILL PLUG
1
77
O RING 3.879 OD
1
78
SCREW
3
79
SCREW
1
80
Детать
1
81
SCREW
2
82
DECAL-EV-PM
1
82
Детать
1
83
5' EXT CABLE KIT
1
83
10' EXT CABLE KIT
1
85
CONNECTOR
1
86
TERMINAL
3
87
TERMINAL
2
88
Детать
3
0172655
Not Shown
1
0172667
TRIM CYL AY COMP Not Shown 1 3/8 in. (35mm) Diameter End Cap
1
0172796
Not Shown 1 3/8 in. (35mm) Diameter End Cap
1
0172822
Not Shown 1 3/8 in. (35mm) Diameter End Cap
1
0172826
Not Shown 1 3/8 in. (35mm) Diameter End Cap
1
0172835
Not Shown
1
0172850
Not Shown
1
0172858
Детать
1
0172899
TRIM SWITCH AY Not Shown
1
0173569
Not Shown
1