Оригинальные каталоги
Масла и жидкости
Масла моторные
Масла трансмиссионные
Жидкости гидравлические
Жидкости охлаждающие
Жидкости тормозные
Масла гидравлические
Масла для вилок и амортизаторов
Масла компрессорные
Жидкости для стекол
Масла для цепей бензопил
Масла индустриальные
Масла промывочные
Раствор мочевины AdBlue
Автоэлектроника
Видеорегистраторы
Пылесосы автомобильные
FM трансмиттеры
Зарядные устройства
Разветвители, удлинители прикуривателя
Кабели
Вентиляторы автомобильные
Штекер прикуривателя
Датчик парктроника
Камеры заднего вида
Мониторы парковочные
Парктроники
Термометры
Накидки на сиденье с подогревом
Автохолодильники
Антирадары
Диагностический сканер
Аксессуары
Набор автомобилиста
Ароматизаторы
Тросы буксировочные
Канистры
Ремни крепления груза
Стяжки-резинки крепления
Сетки для крепления груза
Скотч
Влажные салфетки
Держатели телефонов, планшетов
Карты памяти
Наушники
Аккумулятор холода
Термосумки и контейнеры
Фонарики
Батарейки
Оплетки на руль
Огнетушители
Салфетки, полотенца, варежки
Инструмент
Домкраты
Компрессоры
Манометры
Насосы
Светильники переносные
Шарнирно-губцевый инструмент
Ударный инструмент
Метчики. Плашки
Заклёпочники
Заклёпки
Измерительный инструмент
Свёрла
Отвёртки
Изолента
Надфили. Напильники
Ножи, ножовки
Щётки
Абразивная бумага
Специнструмент
Ключи
Хомуты
Дрель-шуруповерт
Автохимия
Присадки
Промывки
Очистители
Смазки спрей
Смазки пластичные
Герметики
Средство для рук
Клей
Лакокрасочные материалы
Автошампуни
Полироли
Антифриз для тормозной системы
Масло для пропитки фильтров
Антикоррозионные составы
Прочее
Электрооборудование
Зарядные устройства
Инверторы
Конвертеры
Звуковые сигналы
Провода прикуривания
Предохранители
Противотуманные фары
Дневные ходовые огни
Электрика фаркопа
Шины и диски
Автошины
Грузовые шины
Мотошины
Камеры
Мотокамеры
Лента обода шины
Колпаки
Диски
Одежда и экипировка
Жилеты
Запчасти
Аккумуляторы
Лампы
Щетки стеклоочистителя
Гофры глушителя
Велотовары
Велосипеды
Самокаты
Велокамеры
Искать по VIN или номеру детали
Поиск по штрих-коду
Искать по VIN-номеру
Войти
Авторизация
Логин
Пароль
Напомнить пароль
Запомнить
Войти
Зарегистрироваться
Авторизоваться другим способом
Востановить пароль
Введите ваш email:
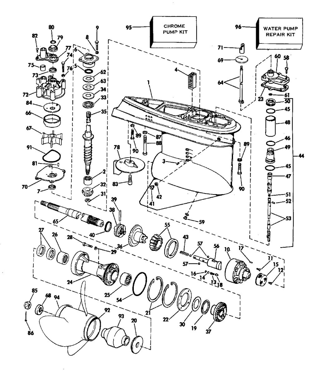
GEARCASE
Корзина пуста
Evinrude
200 200749C
200 200749C
GEARCASE
№
Наименование
Примечание
Кол-во
1
Детать
1
2
ROLLER BRG AY
1
3
SET SCREW
1
4
SCREENWATER INTK
1
5
O-RING (Contents of GEARCASE SEAL KIT.)
1
6
DS BRG HSG&SEAL AY
1
7
OIL SEAL Contents of Gearcase Seal Kit (005 per pack)
2
8
WASHER
4
9
SCREW BRG HSG Electric Start Models Only
4
10
PUMP HSG&CVR AY
1
11
SCREW WATER PUMP
4
12
SCREW Electric Start Models Only
1
13
SPRING
1
14
PLUG
1
15
SCREEN
1
16
RETAININ RING
1
17
PIN
1
18
RELIEF VALVE-PUMP
1
19
BEARING AYTHRUST
1
20
THRUST BSHG
1
21
RETAINING RING
2
22
Детать
1
23
GASKET AY-GCASE
1
24
Детать
1
25
NEEDLE BRG
1
26
NEEDLE BRG AY
1
27
SEAL (005 per pack)
2
28
SCREW (005 per pack)
4
29
SEAL (010 per pack)
1
30
THRUST WASHER
1
31
NUT PINION
1
32
PINION DRSHAFT
1
33
THRUST BRG AY
1
34
THRUST WASHER
1
35
KIT AYD/SHAFT-20 Used on 20 inch transom models
1
35
KIT AYD/SHAFT-25 Used on 25 inch transom models
1
36
GEAR&BUSHING AY
1
37
GEAR REVERSE
1
38
SHIFTER-CLUTCH DOG
1
39
PIN
1
40
SPRING
1
41
DRAIN FILL PLG 10P (010 per pack)
1
42
WASHER-10 PK (010 per pack)
1
43
SPRING
1
44
Детать
1
45
O RING
2
46
O RING SMALL SHIFT
1
47
VALVE SHIFT AY GCS
1
48
CYL SHIFT AY
1
49
PISTON-SHIFT
1
50
CAP PISTON SHIFT
1
51
SCREW PLUG
1
52
PIN PUSH ROD
1
53
Детать
1
54
O-RING (010 per pack)
1
55
BEARING
1
56
SHIFT ROD&BEARING
1
57
BALL DETENT (005 per pack)
3
58
SCREW1/4-20
6
59
DRAIN SCREW Contents of GEARCASE SEAL KIT
1
60
Детать
1
61
O-RING (005 per pack)
1
62
Детать
0
63
SHIM 005
0
64
SHIFTROD Used on 20 inch transom models
1
64
SHIFT ROD XLONG Used on 25 inch transom models
1
65
Детать
1
66
IMP. HSG. KIT Contents of Water Pump Repair Kit EARLY PRODUCTION
1
67
IMPELLER (389642)
1
68
SPACER PROP NUT
1
69
Детать
1
70
CUP & PLATE AY
1
71
SHIFT ARM
1
72
IMP. HSG. KIT
1
74
SCREW-IMP HSG
4
75
GROMMET 3.3 L models
1
76
WASHER (004 per pack)
4
77
COVERIMPELLER HSG
1
78
TABTRIM-STD
1
79
GROMMET
1
80
O RING
1
81
KEY
1
82
SCREW
2
83
SCREW
1
84
PLATE LINER Contents of Water Pump Repair Kit EARLY PRODUCTION
1
85
NUT&KEEPER AYPROP
1
86
COTTER PIN 10 PK (010 per pack)
1
87
LOCKWASHER 4PK (004 per pack)
1
88
SCREW
1
89
LOCKWASHER (WRL Models Only. 20 in. (508mm) Models Only.)
5
90
SCREW
5
91
SEAL IMP HSG PL Also included in Water Pump Repair Kit 392750
1
92
Детать
1
92
Детать
1
92
Детать
1
92
PROP AL 14.25 X 23
1
92
Детать
1
92
PROP-AL 15.5 X 13
1
92
PROPAL 15X15 V6
1
92
PROP AYAL 14.8X17
1
92
PROP AYAL 14.5X19
1
92
PROP AYAL 14.3X21
1
92
Детать
1
92
VIPERTBX14.75X19RH
1
92
VIPERTBX14.5X21RH
1
93
PROP HUB15 SPLINE
1
94
CONVERG RINGV6
1
95
Детать
1
96
Детать
1
0388209
USED ON 20 INCH TRANSOM MODELS
1
0388210
Used on 25 inch transom models
1