| № | Наименование | Примечание | Кол-во |
|---|---|---|---|
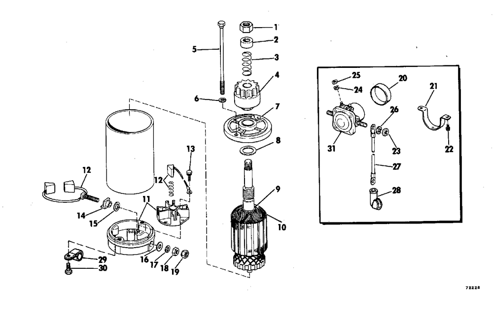
| 1 | NUTSPRINGSPACER | 1 | |
| 2 | NUTSPRINGSPACER | 1 | |
| 3 | NUTSPRINGSPACER | 1 | |
| 4 | DRIVE PINION AY With Nut Starter Drive Retention | 1 | |
| 5 | BOLT | 1 | |
| 6 | Детать | 2 | |
| 7 | CAP ASSEMBLY DRIVE With Nut Starter Drive Retention | 1 | |
| 8 | WASHER | 1 | |
| 9 | SNAP RING THRUST | 1 | |
| 11 | KIT AYCOM END CAP With Nut Starter Drive Retention | 1 | |
| 12 | BRUSH & SPRG | 1 | |
| 13 | Детать | 2 | |
| 14 | BUSHING | 1 | |
| 15 | WASHER | 1 | |
| 16 | Детать | 1 | |
| 17 | LOCKWASHER | 1 | |
| 18 | Детать | 1 | |
| 19 | LOCK NUT | 1 | |
| 20 | SLEEVE | 1 | |
| 21 | CLAMP | 1 | |
| 22 | SCREW | 2 | |
| 23 | NUT | 3 | |
| 24 | LOCK WASHER | 2 | |
| 25 | NUT.190X32 BRASS | 2 | |
| 26 | LOCKWASHER | 3 | |
| 27 | FF CABLE AY | 1 | |
| 28 | CVRBATTERY CABLE | 1 | |
| 29 | CLAMP | 1 | |
| 30 | SCREW | 1 | |
| 31 | SOLENOID AYSTART | 1 | |
| 0386591 | MOTOR AY STARTER Not Shown | 1 |
