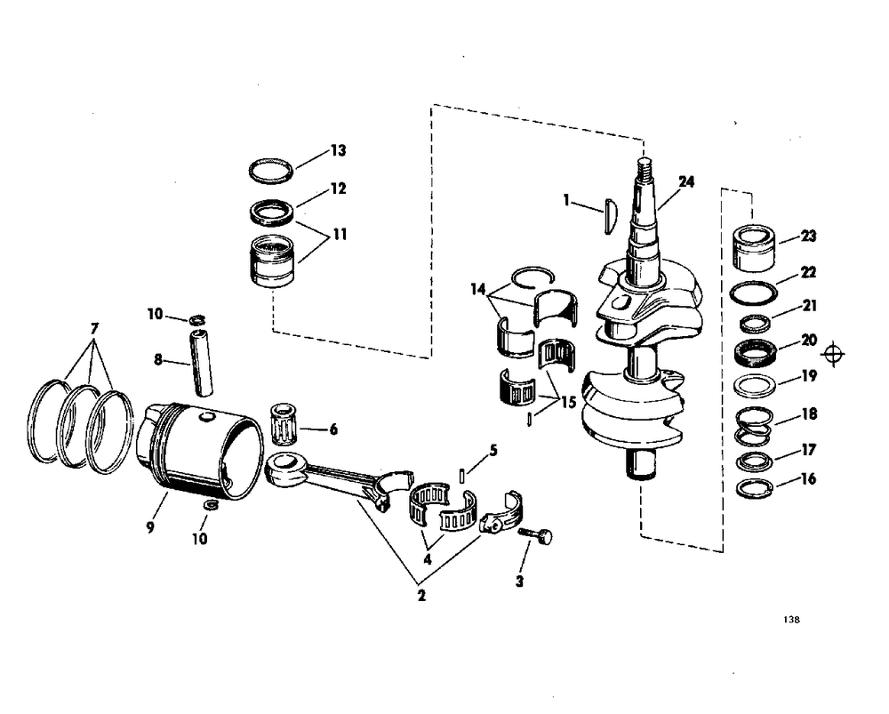
CRANKSHAFT GROUP

Корзина пуста