| № | Наименование | Примечание | Кол-во |
|---|---|---|---|
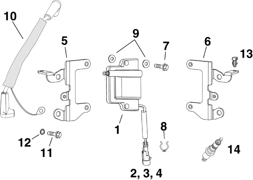
| 1 | COIL AYIGNITION | 6 | |
| 2 | SEALWIRE | 3 | |
| 3 | CONTACTTAB | 3 | |
| 4 | CONN3 POSN CAP Water pressure | 1 | |
| 5 | BRACKET | 3 | |
| 6 | BRACKET | 3 | |
| 7 | SCREWSHOULDER | 12 | |
| 8 | CLIP Water pressure sensor connector TNT connector CPS connector | 6 | |
| 9 | WASHERRUBBER | 24 | |
| 10 | LEAD AYH/T-RFI | 6 | |
| 11 | SCREW | 6 | |
| 12 | WASHER LOCK | 6 | |
| 13 | CLIPMOUNTING Ignition coil connector to bracket | 6 | |
| 14 | SP PL QC10WEP-4PK (004 per pack) | 6 |
