| № | Наименование | Примечание | Кол-во |
|---|---|---|---|
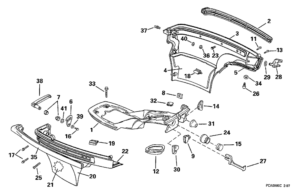
| 1 | BRACKETPANEL | 1 | |
| 2 | BUMPER-LMC-PORT | 2 | |
| 3 | Детать | 1 | |
| 4 | BLANKETSOUND | 1 | |
| 5 | BLANKETSOUND | 1 | |
| 6 | LATCHMOTOR COVER | 1 | |
| 7 | BUSHING 5-PK (005 per pack) | 2 | |
| 8 | NUT | 6 | |
| 9 | GROMMET | 1 | |
| 11 | SCREW | 2 | |
| 12 | GROMMET | 1 | |
| 14 | GROMMET | 1 | |
| 14 | GROMMET | 1 | |
| 14 | Remote Models | 1 | |
| 15 | GROMMET Rope Start models only | 1 | |
| 16 | SCREW | 1 | |
| 18 | SEAL | 1 | |
| 19 | SEAL | 1 | |
| 20 | COVERLOWER STBD | 1 | |
| 21 | BLANKETSOUND | 1 | |
| 22 | BLANKETSOUND | 1 | |
| 23 | Детать | 8 | |
| 24 | GROMMET | 1 | |
| 25 | SCREW | 1 | |
| 26 | SCREW | 1 | |
| 27 | KNOBCHOKE | 1 | |
| 28 | KIT AYFUEL CONN DR models | 1 | |
| 29 | SEAL | 1 | |
| 30 | GROMMET | 1 | |
| 31 | GROMMET | 1 | |
| 31 | TE Models Rope Models | 1 | |
| 32 | GROMMET | 1 | |
| 32 | GROMMET | 1 | |
| 33 | SCREW | 5 | |
| 34 | WASHER Negative battery stud to center frame | 1 | |
| 35 | BUMPER-LMC-STBD | 1 | |
| 36 | NUT | 1 | |
| 37 | SCREWBALL JOINT | 1 | |
| 38 | SHAFT AYHANDLE & | 1 | |
| 40 | WASHER | 1 | |
| 41 | BOW WASHER | 1 |
