| № | Наименование | Примечание | Кол-во |
|---|---|---|---|
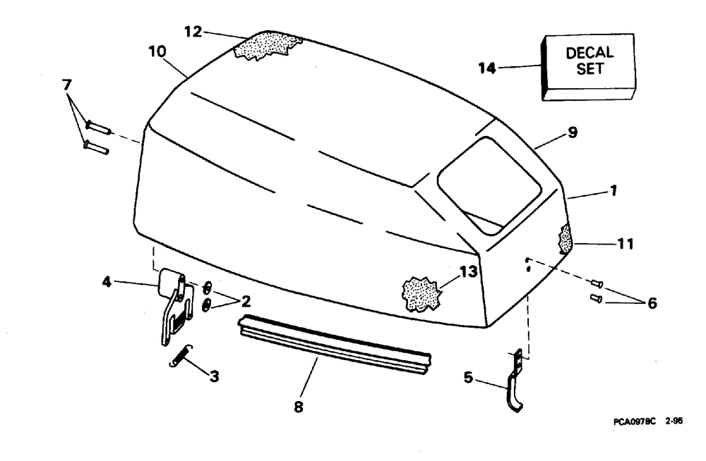
| 1 | 9.9 Models 10SEL Models Smoke | 1 | |
| 1 | 9.9 Models White | 1 | |
| 1 | UMC AY JO 15 SMK 15 Models Smoke J15BA Models | 1 | |
| 1 | 15 Models White | 1 | |
| 1 | 10SEL Models White | 1 | |
| 2 | WASHER | 2 | |
| 3 | SPRING | 1 | |
| 4 | Детать | 1 | |
| 5 | HOOK AY | 1 | |
| 6 | Детать | 2 | |
| 7 | RIVET | 2 | |
| 8 | SEAL UMC AY-BLK | 1 | |
| 9 | Детать | 1 | |
| 10 | Детать | 1 | |
| 11 | Детать | 1 | |
| 12 | Детать | 1 | |
| 13 | Детать | 1 | |
| 14 | 15RP Models 15KC Models | 1 | |
| 14 | 9.9 Models Smoke | 1 | |
| 14 | 9.9 Models White | 1 | |
| 14 | 15 Models White | 1 | |
| 14 | 10SEL Models White | 1 |
