| № | Наименование | Примечание | Кол-во |
|---|---|---|---|
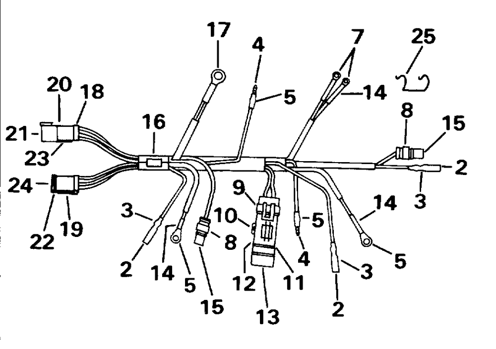
| 1 | Деталь | 1 | |
| 2 | TERMINAL (005 per pack) | 3 | |
| 3 | SLEEVESOCKET BLUE | 3 | |
| 4 | TERM. 521616-ADZ (010 per pack) | 2 | |
| 5 | SLEEVEBULLET TERM | 2 | |
| 6 | TERM. 61867-2 0.250 in. (6.3 mm) diameter | 2 | |
| 7 | RING TERMINAL | 2 | |
| 8 | CONN1 SKT PLUG | 2 | |
| 9 | CONNFUSE PLUG | 1 | |
| 10 | TERMINALRCPT (002 per pack) | 2 | |
| 11 | FUSE20 AMP (005 per pack) | 2 | |
| 12 | COVERINLINE FUSE | 1 | |
| 13 | PLUGFUSE | 1 | |
| 14 | SLEEVE | 4 | |
| 15 | TERMSCKT (010 per pack) | 2 | |
| 16 | DIODE KIT | 4 | |
| 17 | RING TERMINAL 0.312 in. (7.9mm) diameter | 1 | |
| 18 | PLUGSEALING | 2 | |
| 19 | CONN6SKT PLUG | 1 | |
| 20 | CONN6PIN RCPT | 1 | |
| 21 | TERMINALPIN-10PK (010 per pack) | 4 | |
| 22 | LOCKWEDGE-6S PLUG | 1 | |
| 23 | LOCKWEDGE-6P RCPT | 1 | |
| 24 | TERMINALSKT-10PK (010 per pack) | 6 | |
| 25 | RETAINER | 1 |
