| № | Наименование | Примечание | Кол-во |
|---|---|---|---|
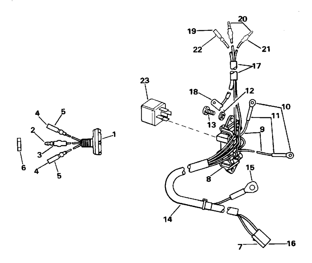
| 1 | SWITCH AYTNT | 1 | |
| 2 | TERM. 521616-ADZ (010 per pack) | 1 | |
| 3 | SLEEVEBULLET TERM | 1 | |
| 4 | TERMINAL (005 per pack) | 2 | |
| 5 | SLEEVESOCKET BLUE | 2 | |
| 6 | NUT | 1 | |
| 7 | CONNECTOR | 1 | |
| 8 | Детать | 1 | |
| 9 | LEAD AY | 2 | |
| 10 | RING TERMINAL | 1 | |
| 11 | SLEEVE | 1 | |
| 12 | WASHER | 2 | |
| 13 | SCREW | 3 | |
| 14 | Детать | 1 | |
| 15 | RING TERMINAL 0.312 in. (7.9mm) diameter | 1 | |
| 16 | TERMINAL | 2 | |
| 17 | CABLE AY | 1 | |
| 18 | RING TERMINAL | 1 | |
| 23 | RELAY AY | 2 |
