| № | Наименование | Примечание | Кол-во |
|---|---|---|---|
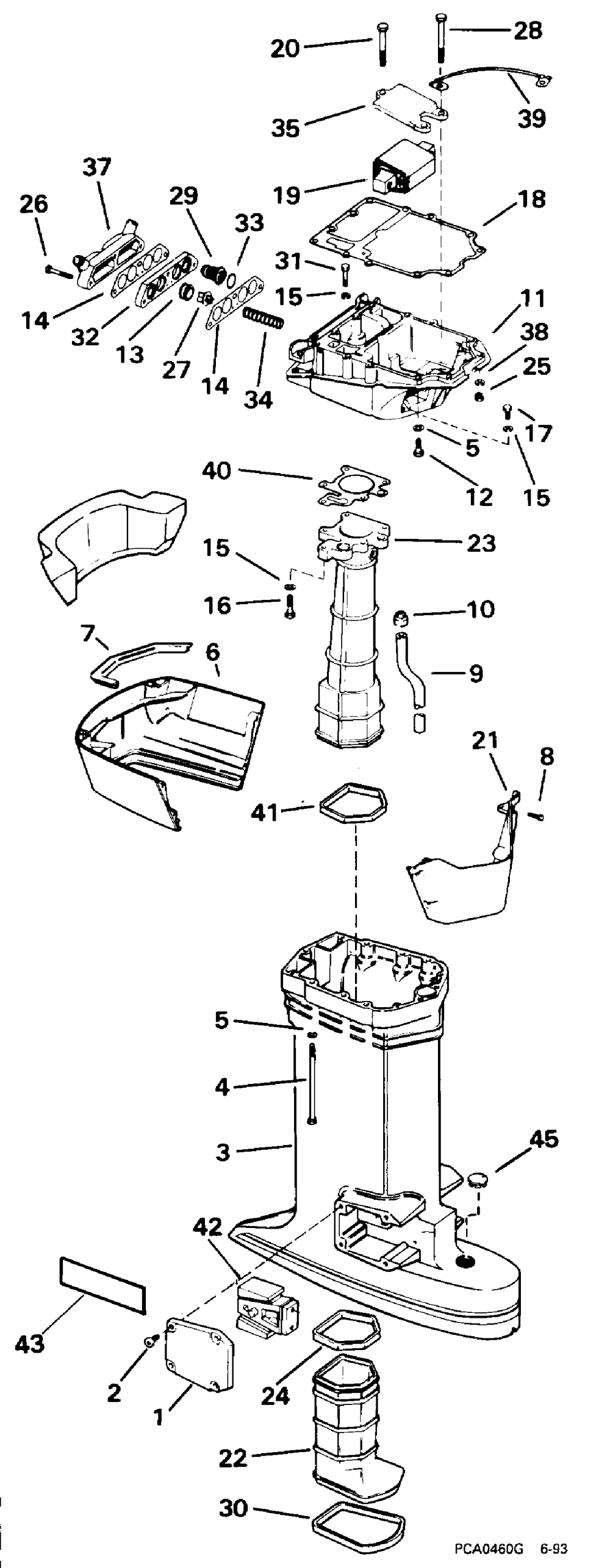
| 1 | COVERMOUNT-LOWER | 2 | |
| 2 | SCREW | 8 | |
| 3 | HOUSINGEXHAUST 20 in. (508mm) transom models only | 1 | |
| 3 | EXHAUST HSG 20 JET | 1 | |
| 3 | HX TSX Models Only | 1 | |
| 4 | SCREW-EXH HSG | 6 | |
| 5 | WASHER | 8 | |
| 6 | Детать | 1 | |
| 7 | Детать | 1 | |
| 7 | Детать | 1 | |
| 8 | SCREW | 4 | |
| 9 | WATER TUBE-X LONG HX TSX Models Only | 1 | |
| 9 | HL TSL Models Only | 1 | |
| 10 | GROMMET | 1 | |
| 11 | ADAPTOR | 1 | |
| 12 | SCREW | 2 | |
| 13 | GROMMET | 2 | |
| 14 | GASKET DRL 10PK (010 per pack) | 2 | |
| 15 | LOCKWASHER 5 PK (005 per pack) | 10 | |
| 16 | SCREW | 5 | |
| 17 | SCREW | 2 | |
| 18 | GASKET PWHD-ADPTR | 1 | |
| 19 | Детать | 1 | |
| 20 | SCREW | 1 | |
| 21 | CVR-EXH HSG-FRT | 1 | |
| 22 | EXHAUST HSG INNER | 1 | |
| 22 | HX TSX Models Only | 1 | |
| 23 | Детать | 1 | |
| 24 | SEAL EX HSG | 1 | |
| 25 | NUT | 4 | |
| 26 | SCREW | 3 | |
| 27 | VALVE | 2 | |
| 28 | SCREW | 2 | |
| 29 | THERMOSTAT AY | 2 | |
| 30 | SEALG/C-INNR HSG | 1 | |
| 31 | SCREW | 3 | |
| 32 | VALVE BODY | 1 | |
| 33 | GASKET THRMST 5PK (005 per pack) | 2 | |
| 34 | SPRING | 2 | |
| 35 | Детать | 1 | |
| 37 | COVER THERMOSTAT | 1 | |
| 39 | Детать | 1 | |
| 40 | GASKET | 1 | |
| 42 | Детать | 2 | |
| 43 | DECALQUIET RIDER | 1 | |
| 44 | SEAL | 1 | |
| 45 | PLUG | 1 |
