| № | Наименование | Примечание | Кол-во |
|---|---|---|---|
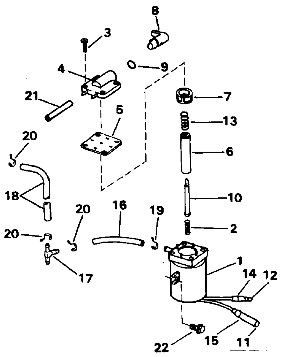
| 1 | Детать | 1 | |
| 2 | SPRING VALVE | 1 | |
| 3 | SCREW | 4 | |
| 4 | COVER&GASKET AY | 1 | |
| 5 | GASKET | 1 | |
| 6 | PLUNGER | 1 | |
| 7 | FILTER | 1 | |
| 8 | MANUAL VALVE | 1 | |
| 9 | O-RING | 1 | |
| 10 | VALVE | 1 | |
| 11 | TERMINAL (005 per pack) | 1 | |
| 12 | TERM. 521616-ADZ (010 per pack) | 1 | |
| 13 | SPRINGPRIMER SOL | 1 | |
| 14 | SLEEVEBULLET TERM | 1 | |
| 15 | SLEEVESOCKET BLUE | 1 | |
| 17 | TEE See "Oil Recirculation System" | 1 | |
| 18 | Детать | 1 | |
| 19 | TIE STRAP 100PK (100 per pack) | 0 | |
| 20 | TIE STRAP 100PK (100 per pack) | 0 | |
| 22 | SCREW | 2 |
