| № | Наименование | Примечание | Кол-во |
|---|---|---|---|
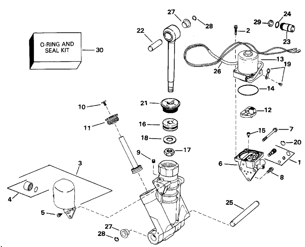
| 1 | MANUAL RELSE VALVE 150 | 1 | |
| 2 | SCREWTRIM MOTOR | 4 | |
| 3 | RESERVOIR&CAP AY | 1 | |
| 4 | O-RING&CAP AY | 1 | |
| 5 | SCREWRESERVOIR | 3 | |
| 6 | VALVE BODY AY 115 | 1 | |
| 7 | SCREWVALVE BODY | 1 | |
| 8 | SCREWVALVE BODY | 2 | |
| 9 | PLUG & SCREEN | 1 | |
| 10 | THRST PAD-TRM ROD | 2 | |
| 11 | TRIM ROD END CAP | 2 | |
| 12 | FILTERFASTRAK TNT | 1 | |
| 13 | MOTOR & O-RING AY | 1 | |
| 14 | O RING 5PK (005 per pack) | 1 | |
| 15 | COUPLING-PUMP | 1 | |
| 16 | PISTON AY TILT | 1 | |
| 17 | HEX NUT | 1 | |
| 18 | WASHER | 1 | |
| 19 | CLAMP&SCREW AY | 1 | |
| 20 | RING-RETAIN. | 1 | |
| 21 | CAP-O-RING & SEAL | 1 | |
| 22 | PINTILT CYLINDER | 1 | |
| 23 | CONN2 CONT PLUG | 1 | |
| 24 | Детать | 1 | |
| 25 | RODLOWER MOUNT | 1 | |
| 26 | SLEEVEBRAIDED-5" 5/8 x 5 in. (15.87 x 127 mm) | 1 | |
| 27 | BUSHINGTILT CYL | 4 | |
| 28 | RINGRETAINING | 4 | |
| 29 | PLUGCONN SEAL | 4 | |
| 30 | O-RING&SEAL AY | 1 | |
| 0434397 | HYD AY(YE)FASTRAK Not Shown | 1 |
