| № | Наименование | Примечание | Кол-во |
|---|---|---|---|
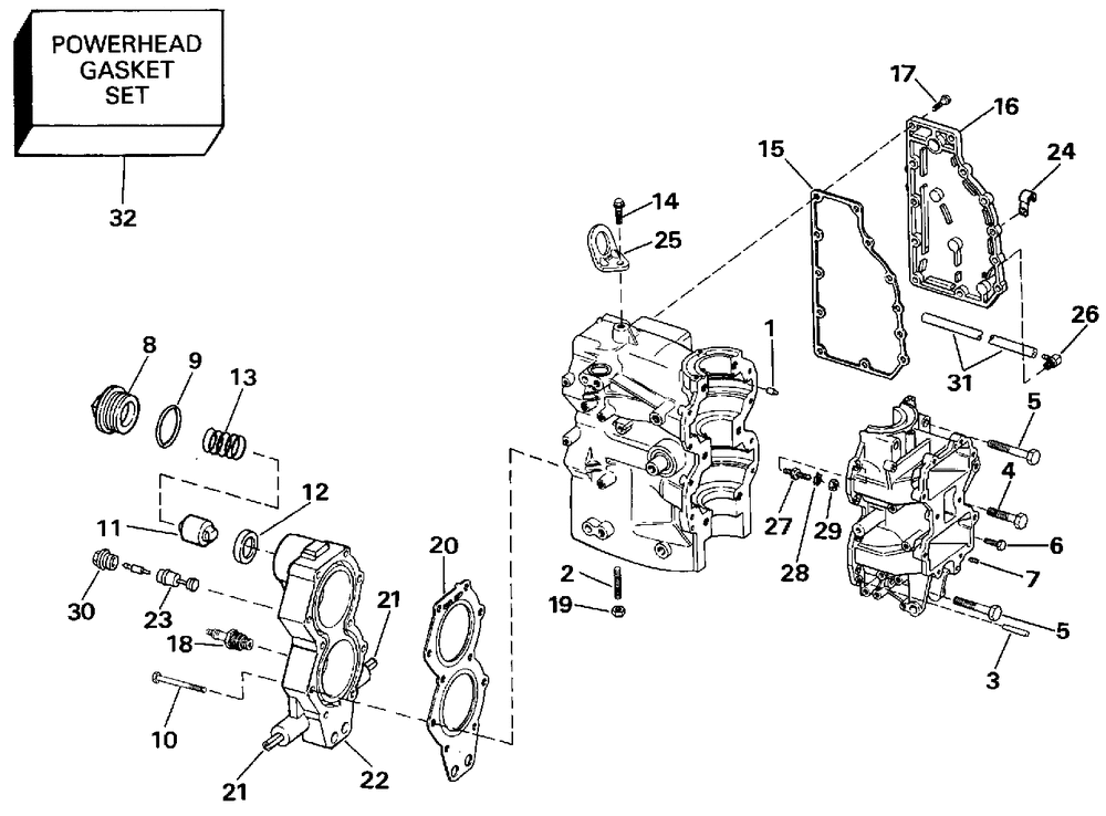
| 1 | DOWEL | 2 | |
| 2 | STUD | 1 | |
| 3 | PIN 4PK (004 per pack) | 1 | |
| 4 | SCREW | 2 | |
| 5 | Детать | 4 | |
| 6 | SCREW | 8 | |
| 7 | PLUG LARGE MANIFD | 1 | |
| 8 | THERMOSTAT CVR "E" Suffix Models Only | 1 | |
| 9 | O-RING (005 per pack) | 1 | |
| 10 | SCREW-CYL HEAD | 10 | |
| 11 | SEAT&THERMOSTAT AY | 1 | |
| 12 | SEALTHERMOSTAT | 1 | |
| 13 | SPRING-THERMOSTAT | 1 | |
| 14 | SCREW | 1 | |
| 15 | GASKET WATER PASS | 1 | |
| 16 | Детать | 1 | |
| 17 | SCREW | 12 | |
| 18 | SP PLG QL78C Optional (004 per pack) | 2 | |
| 19 | NUT | 1 | |
| 20 | HD GASKET | 1 | |
| 21 | PIN | 4 | |
| 22 | CYL HEAD AY | 1 | |
| 22 | Детать | 1 | |
| 23 | SWITCHTEMP-TAN | 1 | |
| 24 | CLAMP 'J' | 1 | |
| 25 | LIFT BRKT | 1 | |
| 26 | ELBOW 40 HO 60 HP Models | 1 | |
| 27 | Детать | 1 | |
| 28 | LOCKWASHER (005 per pack) | 1 | |
| 29 | NUT | 1 | |
| 30 | COVER-TEMP.SWITCH | 1 | |
| 32 | GASKET SET PWHD | 1 | |
| 0397517 | Not Shown 50 Models "M" Models Number Suffix Only | 1 | |
| 0398872 | Not Shown 40 Models "M" Models Number Suffix Only | 1 |
