| № | Наименование | Примечание | Кол-во |
|---|---|---|---|
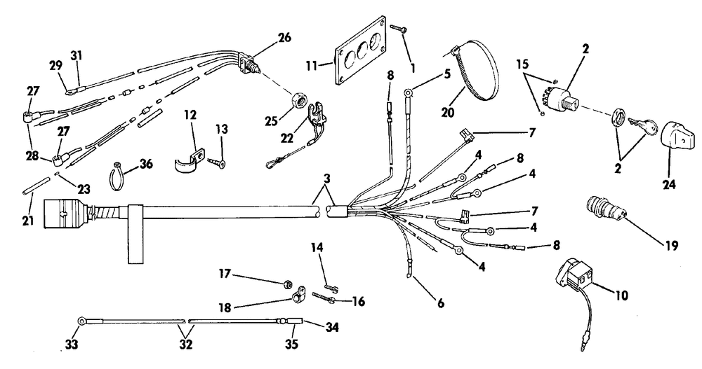
| 1 | SCREW | 4 | |
| 2 | IGNITION SWITCH | 2 | |
| 3 | INST CABLE AY 28' | 2 | |
| 4 | TERM. 40724 (005 per pack) | 4 | |
| 5 | RING TERMINAL | 1 | |
| 6 | TERMINAL | 1 | |
| 7 | TERM.41532 | 2 | |
| 8 | TERMSCKT (010 per pack) | 3 | |
| 10 | KIT AYHORN REPL | 2 | |
| 11 | BEZEL | 1 | |
| 12 | CLAMP GAS LIN | 8 | |
| 13 | SCREW | 8 | |
| 14 | SCREW | 4 | |
| 15 | SCREWSLOTTED | 12 | |
| 16 | SCREW | 2 | |
| 17 | NUT | 4 | |
| 18 | CLAMP | 4 | |
| 19 | 3-PIN CONNECTOR | 2 | |
| 20 | TIE STRAP 100PK (100 per pack) | 6 | |
| 21 | PLSTC TUBING | 2 | |
| 22 | CLIP&LANYARD AY | 1 | |
| 23 | TERM.485043-1 | 2 | |
| 24 | PUSH KNOB | 2 | |
| 25 | NUTNYLON | 1 | |
| 26 | CUT-OFF SWITCH | 1 | |
| 27 | RING TERMINAL | 2 | |
| 28 | Детать | 2 | |
| 31 | TUBING | 1 | |
| 32 | LEAD AY | 2 | |
| 34 | TERMINAL (005 per pack) | 1 | |
| 35 | SLEEVESOCKET BLUE | 1 | |
| 36 | TIE STRAP 100PK (100 per pack) | 0 | |
| 0174843 | HRNSS KITDUAL 28' Not Shown | 1 |
