| № | Наименование | Примечание | Кол-во |
|---|---|---|---|
| 1 | Детать | 3 | |
| 1 | Детать | 1 | |
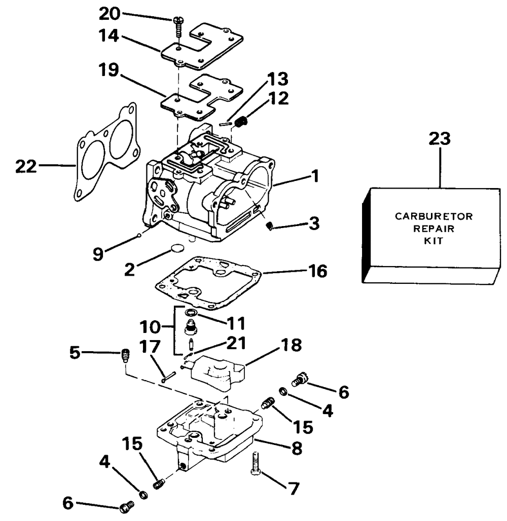
| 1 | CARBURETOR | 2 | |
| 2 | PLUG 5PK | 2 | |
| 3 | ORIFICE .031 | 1 | |
| 3 | ORIFICE .036 | 2 | |
| 3 | ORIFICE LOW SPEED | 2 | |
| 4 | O-RINGSCREW PLUG | 2 | |
| 5 | ORIFICE | 2 | |
| 5 | ORIFICE | 2 | |
| 6 | SCREW PLUG | 2 | |
| 7 | SCREW | 4 | |
| 8 | KITAL FLOAT BOWL | 1 | |
| 9 | LEAD SHOT | 2 | |
| 10 | FLOAT VALVE & SEAT | 1 | |
| 11 | WASHER (Also Available in Carburetor Repair Kit.) | 1 | |
| 12 | Детать | 1 | |
| 13 | ROLL PIN | 2 | |
| 14 | Детать | 1 | |
| 15 | ORIFICE 56C 50 Models | 2 | |
| 15 | ORIFICE-61C | 2 | |
| 16 | GASKET | 1 | |
| 17 | PIN (Also Available in Carburetor Repair Kit.) | 1 | |
| 18 | FLOAT & ARM | 1 | |
| 19 | GASKET | 1 | |
| 20 | SCREW | 0 | |
| 21 | CLIPSPRING | 1 | |
| 22 | GASKET 5PK (005 per pack) | 3 | |
| 23 | KIT AYCARB REPAIR | 1 |
