| № | Наименование | Примечание | Кол-во |
|---|---|---|---|
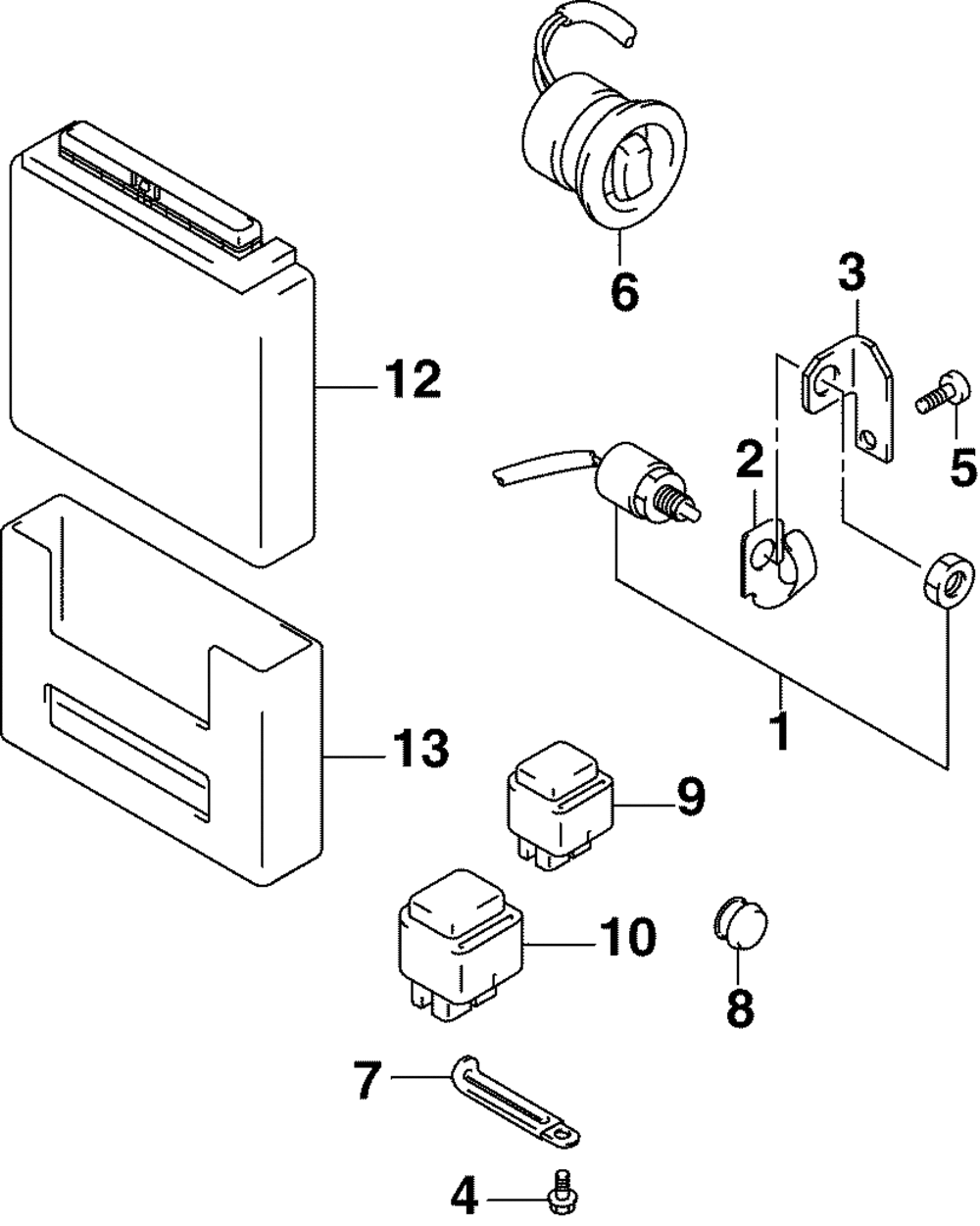
| 1 | SWITCH AY NEUTRAL | 1 | |
| 2 | ACTUATOR(CLIP) | 1 | |
| 3 | BRACKETNEUTRAL SW | 1 | |
| 4 | (Remote Electric Models Only. TNT Models Only.) | 1 | |
| 5 | BOLT | 1 | |
| 6 | SWITCH | 1 | |
| 8 | Детать | 1 | |
| 9 | RELAY AY | 1 | |
| 10 | HOLDER RELAY | 1 | |
| 12 | ECM AY 40HP 4STK (40 Models Only.) | 1 | |
| 12 | ECM AY 50HP 4STK (50 Models Only.) | 1 | |
| 12 | ECM AY 40HP 4STK 40HP "BJ" Prefix models only | 1 | |
| 12 | UNITENG CONTROL 50HP "BJ" Prefix models only | 1 | |
| 13 | CUSHIONENG CONTRO | 1 |
