Оригинальные каталоги
Масла и жидкости
Масла моторные
Масла трансмиссионные
Жидкости гидравлические
Жидкости охлаждающие
Жидкости тормозные
Масла гидравлические
Масла для вилок и амортизаторов
Масла компрессорные
Жидкости для стекол
Масла для цепей бензопил
Масла индустриальные
Масла промывочные
Раствор мочевины AdBlue
Автоэлектроника
Видеорегистраторы
Пылесосы автомобильные
FM трансмиттеры
Зарядные устройства
Разветвители, удлинители прикуривателя
Кабели
Вентиляторы автомобильные
Штекер прикуривателя
Датчик парктроника
Камеры заднего вида
Мониторы парковочные
Парктроники
Термометры
Накидки на сиденье с подогревом
Автохолодильники
Антирадары
Диагностический сканер
Аксессуары
Набор автомобилиста
Ароматизаторы
Тросы буксировочные
Канистры
Ремни крепления груза
Стяжки-резинки крепления
Сетки для крепления груза
Скотч
Влажные салфетки
Держатели телефонов, планшетов
Карты памяти
Наушники
Аккумулятор холода
Термосумки и контейнеры
Фонарики
Батарейки
Оплетки на руль
Огнетушители
Салфетки, полотенца, варежки
Инструмент
Домкраты
Компрессоры
Манометры
Насосы
Светильники переносные
Шарнирно-губцевый инструмент
Ударный инструмент
Метчики. Плашки
Заклёпочники
Заклёпки
Измерительный инструмент
Свёрла
Отвёртки
Изолента
Надфили. Напильники
Ножи, ножовки
Щётки
Абразивная бумага
Специнструмент
Ключи
Хомуты
Дрель-шуруповерт
Автохимия
Присадки
Промывки
Очистители
Смазки спрей
Смазки пластичные
Герметики
Средство для рук
Клей
Лакокрасочные материалы
Автошампуни
Полироли
Антифриз для тормозной системы
Масло для пропитки фильтров
Антикоррозионные составы
Прочее
Электрооборудование
Зарядные устройства
Инверторы
Конвертеры
Звуковые сигналы
Провода прикуривания
Предохранители
Противотуманные фары
Дневные ходовые огни
Электрика фаркопа
Шины и диски
Автошины
Грузовые шины
Мотошины
Камеры
Мотокамеры
Лента обода шины
Колпаки
Диски
Одежда и экипировка
Жилеты
Запчасти
Аккумуляторы
Лампы
Щетки стеклоочистителя
Гофры глушителя
Велотовары
Велосипеды
Самокаты
Велокамеры
Искать по VIN или номеру детали
Поиск по штрих-коду
Искать по VIN-номеру
Войти
Авторизация
Логин
Пароль
Напомнить пароль
Запомнить
Войти
Зарегистрироваться
Авторизоваться другим способом
Востановить пароль
Введите ваш email:
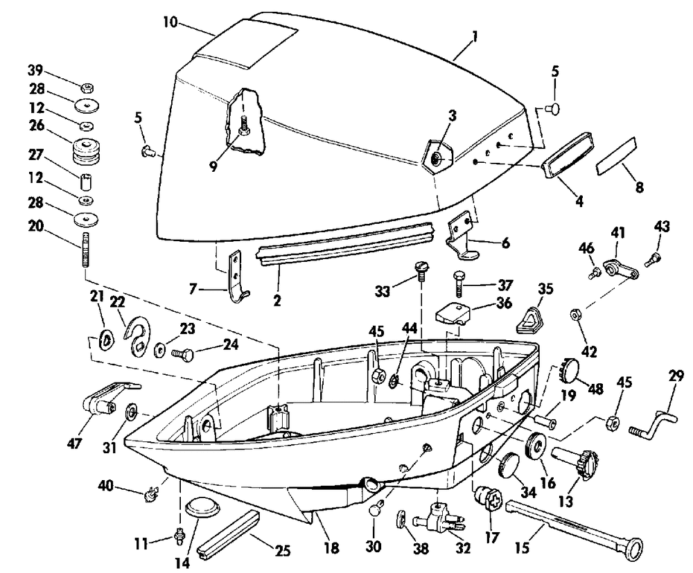
ENGINE COVER - EVINRUDE
Корзина пуста
Johnson
J10RCDB
J10RCDB
ENGINE COVER - EVINRUDE
№
Наименование
Примечание
Кол-во
1
SEL Model Only
1
1
15 Models Only
1
1
9.9 Models Only
1
2
SEAL-MTR CVREV
1
3
NUTPUSH ON
2
4
APPLIQUE-FRONT
1
5
RIVET
4
6
Детать
1
7
HOOK&RIVET-REAR
1
8
9.9 (Except 10SPC-10SPLC) Models Only SEL Model Only 15 Models Only
1
8
SEL Model Only
1
9
SCREW (005 per pack)
2
10
Детать
1
11
FITTING LUBE
1
12
WASHER
6
13
KNOBLOW SPD ADJ
1
14
SEL Model Only 15 Models Only
1
15
CHOKE KNOB
1
16
Детать
1
17
GROMMET CHOKE KNOB
1
18
Детать
1
18
SEL Model Only
1
19
EYELET
1
20
PILOT STUD
3
21
WASHER
1
22
LATCH MTR CVR
1
23
WASHER Negative battery stud to center frame
1
24
SCREW
1
25
SEAL
1
26
GROMMET
3
27
SPACER
3
28
WASHER-MOUNT
6
29
ROPEGUIDE
1
30
PLUG 30RC-30RLC-35RC-35RLC 30TEC-30TELC
2
31
WASHER
1
32
KIT AYFUEL CONN
1
33
SCREW
1
34
GROMMET
1
34
GROMMET
1
35
GROMMET
1
36
RETAINER
1
37
SCREW
1
38
SEAL-FUEL CONNECT
1
39
NUT
3
40
NIPPLE MC LWR 5PK (005 per pack)
1
44
LOCKWASHER
1
45
NUT-SCREW THRTL
2
47
LATCH HNDL AY
1
48
Детать
1
0210339
Not Shown
1
0210355
SEL Model Only Not Shown
1
0282717
9.9 Models Only Not Shown
1
0282718
SEL Model Only Not Shown
1
0282719
15 Models Only Not Shown
1