| № | Наименование | Примечание | Кол-во |
|---|---|---|---|
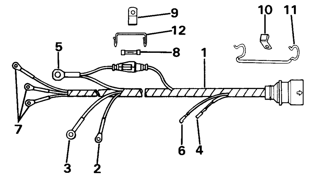
| 1 | Детать | 1 | |
| 2 | TERM. 40977 | 1 | |
| 3 | TERM. 61867-2 | 1 | |
| 4 | TERMSCKT (010 per pack) | 1 | |
| 5 | RING TERMINAL 0.312 in. (7.9mm) diameter | 1 | |
| 6 | TERMINAL | 1 | |
| 7 | TERM. 40724 (005 per pack) | 3 | |
| 8 | FUSE-20AMP/10 PACK (010 per pack) | 1 | |
| 9 | CLAMP | 1 | |
| 10 | SPRING | 2 | |
| 11 | CLAMP | 1 | |
| 12 | RETAINER | 1 |
