| № | Наименование | Примечание | Кол-во |
|---|---|---|---|
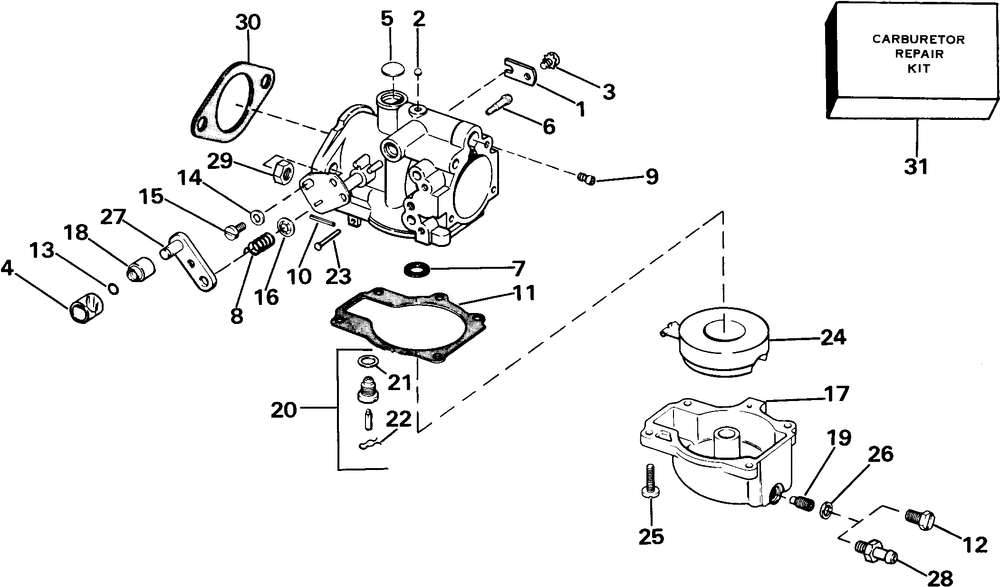
| 1 | CLIP | 1 | |
| 2 | LEAD SHOT | 1 | |
| 3 | Детать | 1 | |
| 4 | 40R Models | 1 | |
| 5 | PLUG 5PK | 1 | |
| 6 | NIPPLE | 1 | |
| 7 | GASKET CARB 5PK (005 per pack) | 1 | |
| 8 | SPRING | 1 | |
| 9 | ORIFICE tahos_40 | 1 | |
| 10 | ROLL PIN | 2 | |
| 11 | GASKET 5PK (005 per pack) | 1 | |
| 12 | SCREW | 1 | |
| 13 | O-RING | 1 | |
| 14 | WASHER | 1 | |
| 15 | SCREW-ADJ LEVER | 1 | |
| 16 | FASTENER (Also Available in Carburetor Repair Kit.) | 1 | |
| 17 | CHAMBERFLOAT | 1 | |
| 18 | ROLLER Middle Carburetor Only | 1 | |
| 19 | ORIFICE PLUG 38D Long and Extra-Long Models Only Use With Carb. P/N 431878 or 431879 | 1 | |
| 20 | FLOAT VLV/SEAT (005 per pack) | 1 | |
| 21 | WASHER (Also Available in Carburetor Repair Kit.) | 1 | |
| 22 | CLIPSPRING | 1 | |
| 23 | PIN (Also Available in Carburetor Repair Kit.) | 1 | |
| 24 | FLOAT & ARM (Also Available in Carburetor Repair Kit.) | 1 | |
| 25 | SCREW | 4 | |
| 26 | WASHERFIBER | 1 | |
| 27 | LEVER & PIN AY Middle Carburetor Only | 1 | |
| 28 | NIPPLE | 1 | |
| 29 | NUT | 4 | |
| 30 | GASKET 5PK (Also Available in Carburetor Repair Kit.) (005 per pack) | 2 | |
| 31 | KIT AYCARB REPAIR | 1 | |
| 0395789 | Not Shown 40R Models | 1 | |
| 0395790 | Not Shown | 1 | |
| 0395792 | Not Shown 40E Models 40TE Models | 1 |
