Оригинальные каталоги
Масла и жидкости
Масла моторные
Масла трансмиссионные
Жидкости гидравлические
Жидкости охлаждающие
Жидкости тормозные
Масла гидравлические
Масла для вилок и амортизаторов
Масла компрессорные
Жидкости для стекол
Масла для цепей бензопил
Масла индустриальные
Масла промывочные
Раствор мочевины AdBlue
Автоэлектроника
Видеорегистраторы
Пылесосы автомобильные
FM трансмиттеры
Зарядные устройства
Разветвители, удлинители прикуривателя
Кабели
Вентиляторы автомобильные
Штекер прикуривателя
Датчик парктроника
Камеры заднего вида
Мониторы парковочные
Парктроники
Термометры
Накидки на сиденье с подогревом
Автохолодильники
Антирадары
Диагностический сканер
Аксессуары
Набор автомобилиста
Ароматизаторы
Тросы буксировочные
Канистры
Ремни крепления груза
Стяжки-резинки крепления
Сетки для крепления груза
Скотч
Влажные салфетки
Держатели телефонов, планшетов
Карты памяти
Наушники
Аккумулятор холода
Термосумки и контейнеры
Фонарики
Батарейки
Оплетки на руль
Огнетушители
Салфетки, полотенца, варежки
Инструмент
Домкраты
Компрессоры
Манометры
Насосы
Светильники переносные
Шарнирно-губцевый инструмент
Ударный инструмент
Метчики. Плашки
Заклёпочники
Заклёпки
Измерительный инструмент
Свёрла
Отвёртки
Изолента
Надфили. Напильники
Ножи, ножовки
Щётки
Абразивная бумага
Специнструмент
Ключи
Хомуты
Дрель-шуруповерт
Автохимия
Присадки
Промывки
Очистители
Смазки спрей
Смазки пластичные
Герметики
Средство для рук
Клей
Лакокрасочные материалы
Автошампуни
Полироли
Антифриз для тормозной системы
Масло для пропитки фильтров
Антикоррозионные составы
Прочее
Электрооборудование
Зарядные устройства
Инверторы
Конвертеры
Звуковые сигналы
Провода прикуривания
Предохранители
Противотуманные фары
Дневные ходовые огни
Электрика фаркопа
Шины и диски
Автошины
Грузовые шины
Мотошины
Камеры
Мотокамеры
Лента обода шины
Колпаки
Диски
Одежда и экипировка
Жилеты
Запчасти
Аккумуляторы
Лампы
Щетки стеклоочистителя
Гофры глушителя
Велотовары
Велосипеды
Самокаты
Велокамеры
Искать по VIN или номеру детали
Поиск по штрих-коду
Искать по VIN-номеру
Войти
Авторизация
Логин
Пароль
Напомнить пароль
Запомнить
Войти
Зарегистрироваться
Авторизоваться другим способом
Востановить пароль
Введите ваш email:
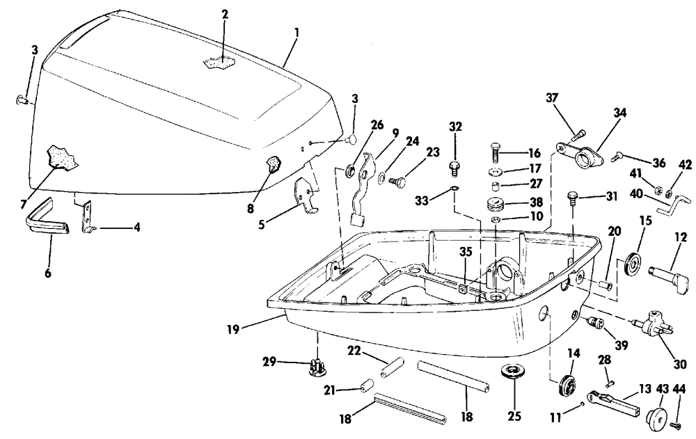
ENGINE COVER - 6 & 8 EVINRUDE MODELS
Корзина пуста
Johnson
J6RLCRM
J6RLCRM
ENGINE COVER - 6 & 8 EVINRUDE MODELS
№
Наименование
Примечание
Кол-во
1
6SL Models Only
1
1
8 Models Except SRL
1
1
6 Models Except SL
1
1
8SRL Models Only
1
2
SOUND BLANKET
1
3
RIVET
4
4
HOOK&RIVET-REAR
1
5
HOOK KIT AY
1
6
SEAL-MOTOR COVER
1
7
SOUND BLANKET
1
8
SOUND BLANKET
2
9
LATCH LEVER
1
10
WASHER
4
11
O-RING
1
12
ADJT KNOB
1
13
Детать
1
14
Детать
1
15
Детать
1
16
SCREW
4
17
WASHER
4
18
SEAL
2
19
8 Models Except SRL 6 Models Except SL
1
19
8SRL & 6SL Models only
1
19
AC Lighting Models Only
1
20
Детать
1
21
SEAL
0
22
SEAL
0
23
SCREW
1
24
WASHER
1
25
GROMMET
1
26
BUSHING
1
27
SLEEVE
4
28
CLEVIS PIN
1
29
NIPPLE MC LWR 5PK (005 per pack)
1
30
FUEL CONN. BODY AY
1
31
SCREW Electric Start Models Only
1
32
SCREW
1
33
LOCKWASHER (005 per pack)
1
34
CAP & GROMMET AY AC Lighting Models Only
2
35
NUT
1
36
SCREW AC Lighting Models Only
1
37
SCREW-SHOULDER
1
38
GROMMET
4
39
BUSHING
1
40
ROPE GUIDE 8SRL & 6SL Models only
1
41
NUT-SCREW THRTL
1
42
LOCKWASHER
1
43
Детать
1
44
SCREW
1
0209874
Not Shown 8 Models Except SRL 6 Models Except SL
1
0209876
Not Shown 8SRL & 6SL Models Only
1
0282238
Not Shown 6 Models Except SL
1
0282239
Not Shown 6SL Models Only
1
0282240
Not Shown 8 Models Except SRL
1
0282250
Not Shown 8SRL Models Only
1