Оригинальные каталоги
Масла и жидкости
Масла моторные
Масла трансмиссионные
Жидкости гидравлические
Жидкости охлаждающие
Жидкости тормозные
Масла гидравлические
Масла для вилок и амортизаторов
Масла компрессорные
Жидкости для стекол
Масла для цепей бензопил
Масла индустриальные
Масла промывочные
Раствор мочевины AdBlue
Автоэлектроника
Видеорегистраторы
Пылесосы автомобильные
FM трансмиттеры
Зарядные устройства
Разветвители, удлинители прикуривателя
Кабели
Вентиляторы автомобильные
Штекер прикуривателя
Датчик парктроника
Камеры заднего вида
Мониторы парковочные
Парктроники
Термометры
Накидки на сиденье с подогревом
Автохолодильники
Антирадары
Диагностический сканер
Аксессуары
Набор автомобилиста
Ароматизаторы
Тросы буксировочные
Канистры
Ремни крепления груза
Стяжки-резинки крепления
Сетки для крепления груза
Скотч
Влажные салфетки
Держатели телефонов, планшетов
Карты памяти
Наушники
Аккумулятор холода
Термосумки и контейнеры
Фонарики
Батарейки
Оплетки на руль
Огнетушители
Салфетки, полотенца, варежки
Инструмент
Домкраты
Компрессоры
Манометры
Насосы
Светильники переносные
Шарнирно-губцевый инструмент
Ударный инструмент
Метчики. Плашки
Заклёпочники
Заклёпки
Измерительный инструмент
Свёрла
Отвёртки
Изолента
Надфили. Напильники
Ножи, ножовки
Щётки
Абразивная бумага
Специнструмент
Ключи
Хомуты
Дрель-шуруповерт
Автохимия
Присадки
Промывки
Очистители
Смазки спрей
Смазки пластичные
Герметики
Средство для рук
Клей
Лакокрасочные материалы
Автошампуни
Полироли
Антифриз для тормозной системы
Масло для пропитки фильтров
Антикоррозионные составы
Прочее
Электрооборудование
Зарядные устройства
Инверторы
Конвертеры
Звуковые сигналы
Провода прикуривания
Предохранители
Противотуманные фары
Дневные ходовые огни
Электрика фаркопа
Шины и диски
Автошины
Грузовые шины
Мотошины
Камеры
Мотокамеры
Лента обода шины
Колпаки
Диски
Одежда и экипировка
Жилеты
Запчасти
Аккумуляторы
Лампы
Щетки стеклоочистителя
Гофры глушителя
Велотовары
Велосипеды
Самокаты
Велокамеры
Искать по VIN или номеру детали
Поиск по штрих-коду
Искать по VIN-номеру
Войти
Авторизация
Логин
Пароль
Напомнить пароль
Запомнить
Войти
Зарегистрироваться
Авторизоваться другим способом
Востановить пароль
Введите ваш email:
CARBURETOR
Корзина пуста
Johnson
J140TXCIH
J140TXCIH
CARBURETOR
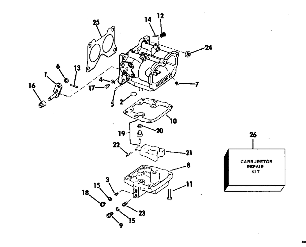
№
Наименование
Примечание
Кол-во
1
UPPER CARBURETOR ONLY
1
2
PLUG 5PK
2
3
ORIFICE tahos_ 25
2
3
ORIFICE IDLE.029 15" Models Lower
2
3
ORIFICE-IDLE tahos_28
2
4
WASHER
1
5
LEAD SHOT
10
6
WASHER Middle Carburetor Only
1
7
ORIFICE PLUGtahos_30
2
7
ORIFICE tahos_34
2
7
ORIFICE tahos_ 32
2
8
Детать
1
8
Детать
1
9
SCREW PLUG
2
10
GASKET
1
11
SCREW
4
12
Детать
1
13
ROLL PIN
1
14
ROLL PIN
0
15
O RING (005 per pack)
4
16
UPPER CARBURETOR ONLY
1
17
SCREW UPPER CARBURETOR ONLY
1
18
SCREW PLUG
2
19
FLOAT VALVE & SEAT
1
20
WASHER (Also Available in Carburetor Repair Kit.)
1
21
FLOAT & ARM
1
22
PIN (Also Available in Carburetor Repair Kit.)
1
23
ORIFICE PLUG-60C
2
23
ORIFICE PLUG
2
23
ORIFICE PLUG-CARB
2
24
NUT STUD
8
25
GASKET 5PK (005 per pack)
2
26
KIT AYCARB REPAIR
1
0390397
Not Shown MODELS WITH "H" MODEL NUMBER SUFFIX
1
0390398
Not Shown MODELS WITH "H" MODEL NUMBER SUFFIX
1
0390399
Not Shown MODELS WITH "H" MODEL NUMBER SUFFIX
1
0390400
CARB AY-LOWER Not Shown MODELS WITH "H" MODEL NUMBER SUFFIX
1
0391712
Not Shown
1
0391714
Not Shown MODELS WITH "M" MODEL NUMBER SUFFIX
1
0391715
Not Shown MODELS WITH "M" MODEL NUMBER SUFFIX
1
0391716
Not Shown MODELS WITH "M" MODEL NUMBER SUFFIX
1
0391717
CARB AY-LOWER Not Shown MODELS WITH "M" MODEL NUMBER SUFFIX
1
0391719
Not Shown
1