| № | Наименование | Примечание | Кол-во |
|---|---|---|---|
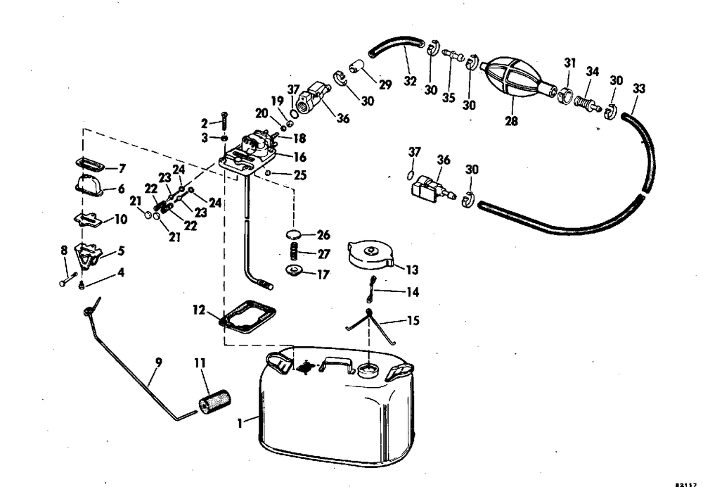
| 1 | TANK AY FUEL-6GAL | 1 | |
| 2 | SCREW MANIFOL | 4 | |
| 3 | WASHER | 4 | |
| 4 | SCREW | 2 | |
| 5 | SUPPORT | 1 | |
| 6 | LENS | 1 | |
| 7 | SEAL | 1 | |
| 8 | HINGE PIN | 1 | |
| 9 | FLOAT & INDICATOR | 1 | |
| 10 | GASKET | 1 | |
| 11 | FLOAT | 1 | |
| 12 | GASKET DLR 5-PK (005 per pack) | 1 | |
| 13 | CAP AY NO/VENT | 1 | |
| 14 | ANCHOR LINK-CAP | 1 | |
| 15 | ANCHOR | 1 | |
| 16 | FUEL HSG | 1 | |
| 17 | RETAINER | 1 | |
| 18 | GUIDE PIN | 1 | |
| 19 | RETAINER | 1 | |
| 20 | Детать | 1 | |
| 21 | CORE PLUG | 2 | |
| 22 | SPRING | 2 | |
| 23 | VALVE | 2 | |
| 24 | O-RING-VALVE SEAT | 2 | |
| 25 | EXPANSION PLU | 1 | |
| 26 | DISC VALVE | 1 | |
| 27 | SPRING | 1 | |
| 28 | PRIM BULB KIT 5/16 | 1 | |
| 29 | Детать | 1 | |
| 30 | HOSE CLAMP | 5 | |
| 31 | HOSE CLAMP | 1 | |
| 32 | 25' MUL-PURP HOSE Also Available in 50 ft. Rolls. Parts No. 122838 (025 per pack) | 1 | |
| 33 | 25' FUEL LINE 5/16 Also Available in 50 ft. Rolls. Parts No. 122838 (025 per pack) | 1 | |
| 34 | NIPPLE/VALVE-OUTLT | 1 | |
| 35 | NIPPLE & VALVE AY | 1 | |
| 36 | FUEL CONN KIT 5/16 | 2 | |
| 37 | O-RING (005 per pack) | 1 | |
| 0320107 | TIE STRAP 100PK (100 per pack) | 1 | |
| 0386940 | KITHOSE&BULB 5/16 Not Shown Small Primer Bulb 3-3/4" Long | 1 | |
| 0387621 | DECAL SET 6 GAL TK Not Shown | 1 |
