| № | Наименование | Примечание | Кол-во |
|---|---|---|---|
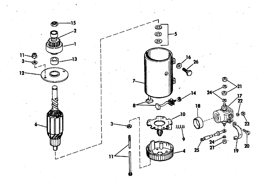
| 1 | STARTER DRIVE 10TH MKW-4006 STARTER MOTOR (STAMPED ON STARTER FRAME & FIELD) | 1 | |
| 2 | SPRING MKW-4006 STARTER MOTOR (STAMPED ON STARTER FRAME & FIELD) | 1 | |
| 3 | WASHER | 4 | |
| 4 | HEAD AY | 1 | |
| 5 | THRUST WASHR | 1 | |
| 6 | MKW-4006 STARTER MOTOR (STAMPED ON STARTER FRAME & FIELD) | 1 | |
| 7 | Детать | 1 | |
| 8 | BRUSH SET MGD-4115 STARTER MOTOR (STAMPED ON STARTER FRAME & FIELD) | 1 | |
| 9 | SPRING SET MGD-4115 STARTER MOTOR (STAMPED ON STARTER FRAME & FIELD) | 1 | |
| 10 | PLATE & HLDR MGD-4115 STARTER MOTOR (STAMPED ON STARTER FRAME & FIELD) | 1 | |
| 11 | KIT AYTHRU BOLT | 1 | |
| 12 | HEAD AY | 1 | |
| 13 | BEARING | 1 | |
| 14 | NUT | 1 | |
| 15 | NUT | 1 | |
| 16 | LOCKWASHER | 3 | |
| 17 | SOLENOID AYSTART | 1 | |
| 18 | SLEEVE | 1 | |
| 19 | CLAMP | 1 | |
| 20 | EXHST COVER | 2 | |
| 21 | NUT | 3 | |
| 22 | LOCK WASHER | 2 | |
| 23 | NUT.190X32 BRASS | 2 | |
| 25 | LEAD AY | 1 | |
| 26 | SCREW | 3 | |
| 0384163 | MOTOR AY STARTER Not Shown | 1 |
