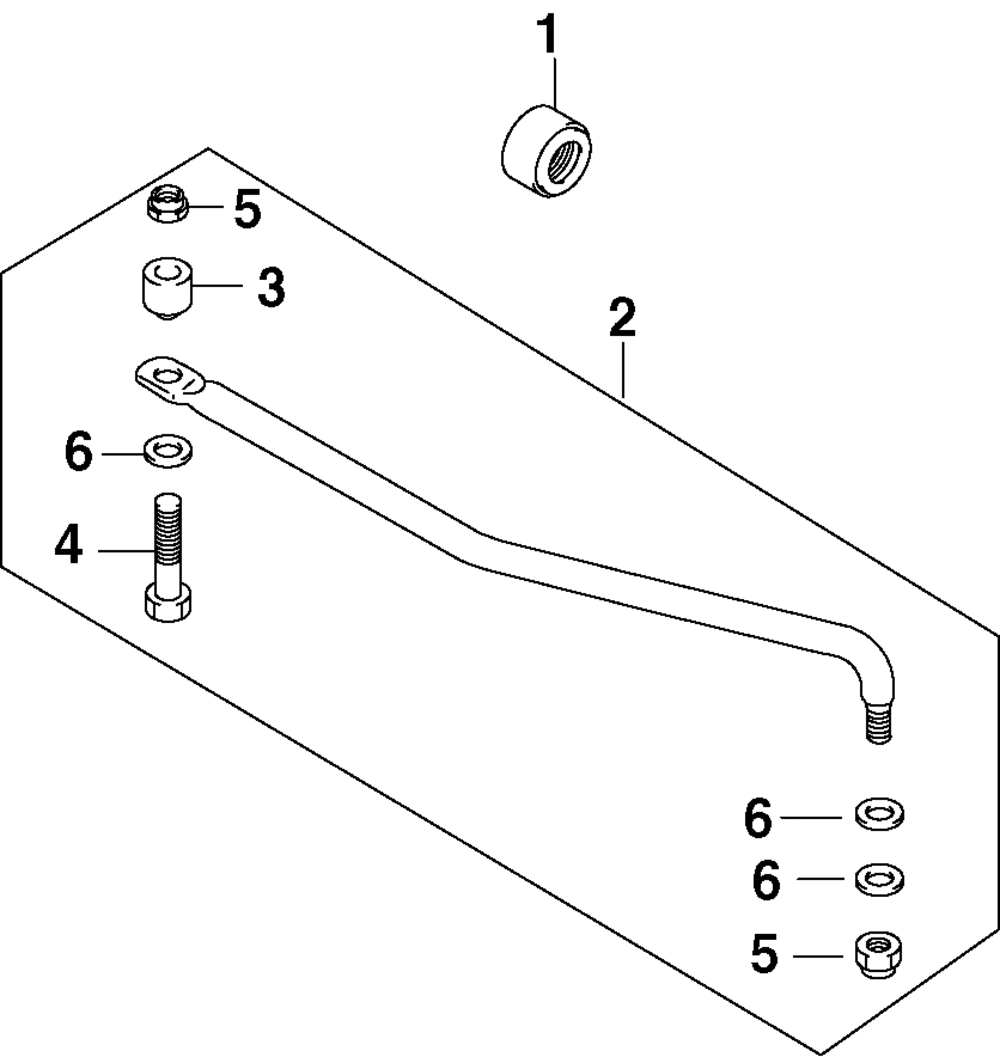
| № | Наименование | Примечание | Кол-во |
|---|---|---|---|
| 1 | SEALSTEERING CBL | 1 | |
| 2 | LINK ASSYDRAG | 1 | |
| 3 | SPACERDRAG LINK | 1 | |
| 4 | BOLT | 1 | |
| 5 | NUTLOCK | 2 | |
| 6 | WASHER | 3 |
| Корзина пуста |
| № | Наименование | Примечание | Кол-во |
|---|---|---|---|
| 1 | SEALSTEERING CBL | 1 | |
| 2 | LINK ASSYDRAG | 1 | |
| 3 | SPACERDRAG LINK | 1 | |
| 4 | BOLT | 1 | |
| 5 | NUTLOCK | 2 | |
| 6 | WASHER | 3 |