Оригинальные каталоги
Масла и жидкости
Масла моторные
Масла трансмиссионные
Жидкости гидравлические
Жидкости охлаждающие
Жидкости тормозные
Масла гидравлические
Масла для вилок и амортизаторов
Масла компрессорные
Жидкости для стекол
Масла для цепей бензопил
Масла индустриальные
Масла промывочные
Раствор мочевины AdBlue
Автоэлектроника
Видеорегистраторы
Пылесосы автомобильные
FM трансмиттеры
Зарядные устройства
Разветвители, удлинители прикуривателя
Кабели
Вентиляторы автомобильные
Штекер прикуривателя
Датчик парктроника
Камеры заднего вида
Мониторы парковочные
Парктроники
Термометры
Накидки на сиденье с подогревом
Автохолодильники
Антирадары
Диагностический сканер
Аксессуары
Набор автомобилиста
Ароматизаторы
Тросы буксировочные
Канистры
Ремни крепления груза
Стяжки-резинки крепления
Сетки для крепления груза
Скотч
Влажные салфетки
Держатели телефонов, планшетов
Карты памяти
Наушники
Аккумулятор холода
Термосумки и контейнеры
Фонарики
Батарейки
Оплетки на руль
Огнетушители
Салфетки, полотенца, варежки
Инструмент
Домкраты
Компрессоры
Манометры
Насосы
Светильники переносные
Шарнирно-губцевый инструмент
Ударный инструмент
Метчики. Плашки
Заклёпочники
Заклёпки
Измерительный инструмент
Свёрла
Отвёртки
Изолента
Надфили. Напильники
Ножи, ножовки
Щётки
Абразивная бумага
Специнструмент
Ключи
Хомуты
Дрель-шуруповерт
Автохимия
Присадки
Промывки
Очистители
Смазки спрей
Смазки пластичные
Герметики
Средство для рук
Клей
Лакокрасочные материалы
Автошампуни
Полироли
Антифриз для тормозной системы
Масло для пропитки фильтров
Антикоррозионные составы
Прочее
Электрооборудование
Зарядные устройства
Инверторы
Конвертеры
Звуковые сигналы
Провода прикуривания
Предохранители
Противотуманные фары
Дневные ходовые огни
Электрика фаркопа
Шины и диски
Автошины
Грузовые шины
Мотошины
Камеры
Мотокамеры
Лента обода шины
Колпаки
Диски
Одежда и экипировка
Жилеты
Запчасти
Аккумуляторы
Лампы
Щетки стеклоочистителя
Гофры глушителя
Велотовары
Велосипеды
Самокаты
Велокамеры
Искать по VIN или номеру детали
Поиск по штрих-коду
Искать по VIN-номеру
Войти
Авторизация
Логин
Пароль
Напомнить пароль
Запомнить
Войти
Зарегистрироваться
Авторизоваться другим способом
Востановить пароль
Введите ваш email:
GEARCASE
Корзина пуста
Johnson
J135VXSIF elec start, TNT, 25 in shaft, wht
J135VXSIF elec start, TNT, 25 in shaft, wht
GEARCASE
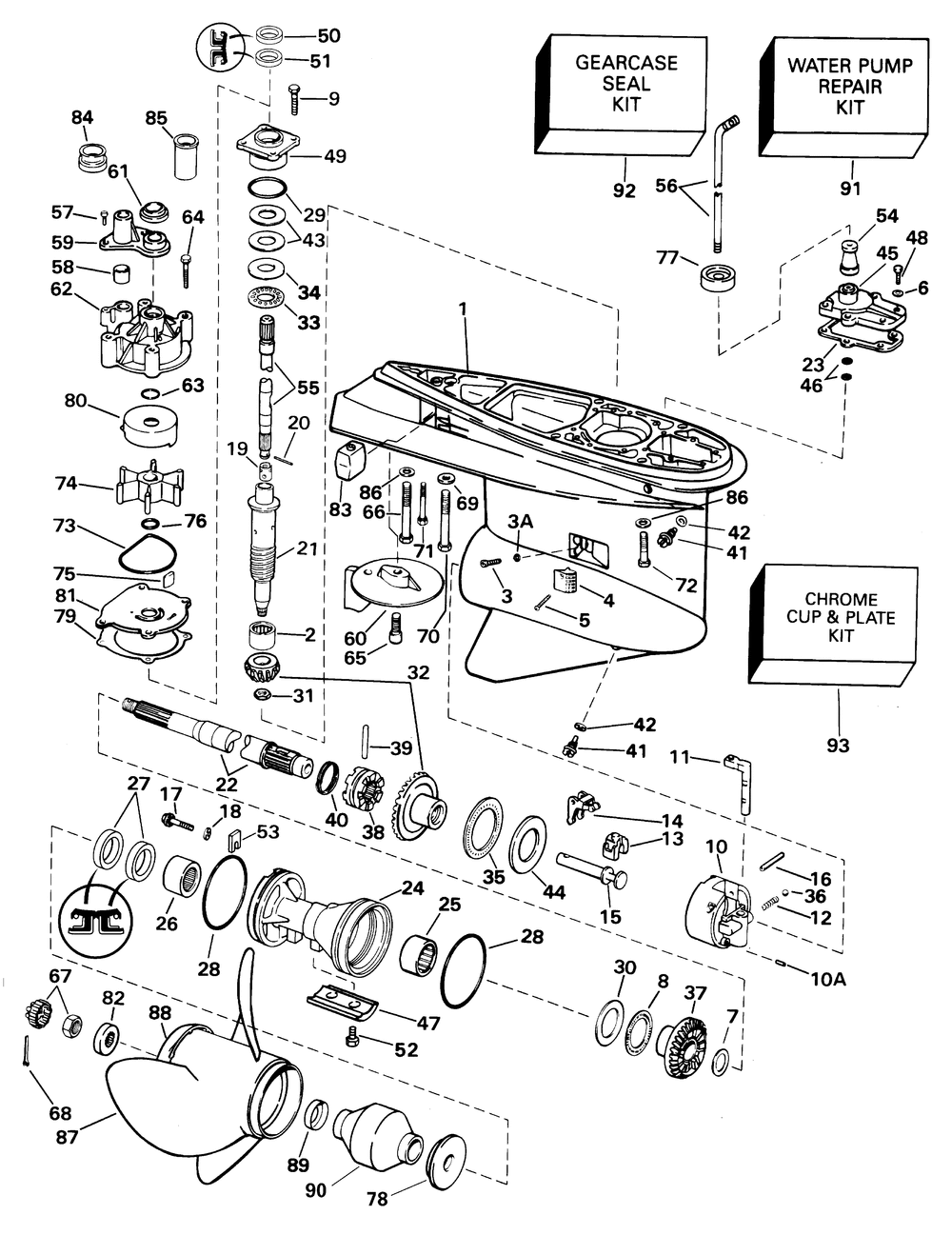
№
Наименование
Примечание
Кол-во
G/C AY/.44/OS WHT (Not Shown.)
1
1
GCASE & BRG AY"O"
1
2
ROLLER BRG AY
1
3
RETAINING SCREW
1
3A
WASHER 5PK (005 per pack)
1
4
SCREENWATER INLET
2
5
SCREW
2
6
WASHER
6
7
WASHERTHRUST
1
8
BEARING AYTHRUST
0
9
SCREW Contents of GEARCASE SEAL KIT
4
10
HSG.& BEARING AY
1
10A
PIN
1
11
DETENT
1
12
SPRING
1
13
CRADLE-SHIFT
1
14
SHIFTER-LEVER
1
15
SHAFT-SHIFTER
1
16
PIN-SHIFTER ARM
1
17
SCREW BRG CARRIER
2
18
WASHER
2
19
RETAINERDR SFT
1
20
PINROLL
1
21
DRIVESHAFTLOWER
1
22
PROPSHAFT AYSERV
1
23
GASKET (Contents of GEARCASE SEAL KIT.) (005 per pack)
1
24
PS BRG HSG&SEAL AY
1
25
NEEDLE BRG
1
26
BEARING AYNEEDLE
1
27
SEAL Contents of GEARCASE SEAL KIT
2
28
O-RING Contents of GEARCASE SEAL KIT (010 per pack)
2
29
O-RING (Contents of GEARCASE SEAL KIT.)
1
30
THRUST WASHER
1
31
NUT PINION
0
32
GEARSETFWD&PIN.44 Ratio
1
33
THRUST BRG AY
1
34
THRUST WASHER
1
35
THRUST BRG-FWD GR
1
36
BALL
1
37
GEARREVERSE(.44)
1
38
SHIFTER-CLUTCH DOG
1
39
PIN
1
40
SPRING
1
41
DRAIN SCREW Contents of GEARCASE SEAL KIT
2
42
WASHER-10 PK (010 per pack)
1
43
SHIM-PINION-003
0
43
SHIM-PINION-004
0
43
SHIM 005
0
44
THRUST WASHER
1
45
COVER AYSHIFT ROD
1
46
O-RING (005 per pack)
2
47
ANODE & INSERT AY
1
48
SCREW (005 per pack)
6
49
DS BRG HSG&SEAL AY
1
50
OIL RETAINER Contents of GEARCASE SEAL KIT
1
51
OIL RETAINER Contents of GEARCASE SEAL KIT
1
52
SCREW
2
53
RETAINING TAB
2
54
SPACER-SHIFT ROD 25 30 in. Models
1
55
KITUPPER D/S-25" (FCX - Models.)
0
55
UPPER D/S KIT 20" FHL MODEL
1
56
SHIFT ROD - 20" FHL MODEL
1
56
SHIFT ROD 25" FHX MODELS
1
57
SCREW
2
58
GROMMET 3.3 L models
1
59
COVERIMPELLER HSG 3.3 L models
1
60
TABTRIM-STD DE200
1
61
GROMMET
1
62
HOUSING AYIMPLR
0
62
HOUSING AYIMPLR Contents of Water Pump Repair Kit .
0
63
O-RING (005 per pack)
1
65
SCREW
1
66
SCREW
1
67
NUT&KEEPER AYPROP
1
68
COTTER PIN 10 PK (010 per pack)
1
69
WASHER
1
70
SCREW
1
71
SCREW ANODE
1
72
SCREW
4
73
SEAL
1
74
KIT AYIMPELLER
1
75
IMP KEY-WHITE
1
76
O RING
1
77
GROMMET EXH HSG
1
78
BUSHINGTHRUST
1
79
GASKETWTR PMP 5PK Contents of GEARCASE SEAL KIT (005 per pack)
1
80
CUPIMP HOUSING Stainless
1
80
CUPIMP HSG-CHROME Chrome
1
81
PLATEWATER PUMP Stainless
1
81
PLATE WATER PUMP Chrome
1
82
SPACER PROP NUT
1
83
ANODE&INSERT AY
1
84
GROMMET
1
85
SLEEVE
1
86
WASHER
5
88
CONVERG RINGV6
1
89
SLEEVE
1
90
BUSHING AYPROP
1
90
PROP HUB15 SPLINE
1
91
KIT AYWATER PUMP 3.3 L models
0
91
KIT AYWATER PUMP
0
92
KIT AYSEAL-GC
1
93
CUP & PLATE AY Optional
1