Оригинальные каталоги
Масла и жидкости
Масла моторные
Масла трансмиссионные
Жидкости гидравлические
Жидкости охлаждающие
Жидкости тормозные
Масла гидравлические
Масла для вилок и амортизаторов
Масла компрессорные
Жидкости для стекол
Масла для цепей бензопил
Масла индустриальные
Масла промывочные
Раствор мочевины AdBlue
Автоэлектроника
Видеорегистраторы
Пылесосы автомобильные
FM трансмиттеры
Зарядные устройства
Разветвители, удлинители прикуривателя
Кабели
Вентиляторы автомобильные
Штекер прикуривателя
Датчик парктроника
Камеры заднего вида
Мониторы парковочные
Парктроники
Термометры
Накидки на сиденье с подогревом
Автохолодильники
Антирадары
Диагностический сканер
Аксессуары
Набор автомобилиста
Ароматизаторы
Тросы буксировочные
Канистры
Ремни крепления груза
Стяжки-резинки крепления
Сетки для крепления груза
Скотч
Влажные салфетки
Держатели телефонов, планшетов
Карты памяти
Наушники
Аккумулятор холода
Термосумки и контейнеры
Фонарики
Батарейки
Оплетки на руль
Огнетушители
Салфетки, полотенца, варежки
Инструмент
Домкраты
Компрессоры
Манометры
Насосы
Светильники переносные
Шарнирно-губцевый инструмент
Ударный инструмент
Метчики. Плашки
Заклёпочники
Заклёпки
Измерительный инструмент
Свёрла
Отвёртки
Изолента
Надфили. Напильники
Ножи, ножовки
Щётки
Абразивная бумага
Специнструмент
Ключи
Хомуты
Дрель-шуруповерт
Автохимия
Присадки
Промывки
Очистители
Смазки спрей
Смазки пластичные
Герметики
Средство для рук
Клей
Лакокрасочные материалы
Автошампуни
Полироли
Антифриз для тормозной системы
Масло для пропитки фильтров
Антикоррозионные составы
Прочее
Электрооборудование
Зарядные устройства
Инверторы
Конвертеры
Звуковые сигналы
Провода прикуривания
Предохранители
Противотуманные фары
Дневные ходовые огни
Электрика фаркопа
Шины и диски
Автошины
Грузовые шины
Мотошины
Камеры
Мотокамеры
Лента обода шины
Колпаки
Диски
Одежда и экипировка
Жилеты
Запчасти
Аккумуляторы
Лампы
Щетки стеклоочистителя
Гофры глушителя
Велотовары
Велосипеды
Самокаты
Велокамеры
Искать по VIN или номеру детали
Поиск по штрих-коду
Искать по VIN-номеру
Войти
Авторизация
Логин
Пароль
Напомнить пароль
Запомнить
Войти
Зарегистрироваться
Авторизоваться другим способом
Востановить пароль
Введите ваш email:
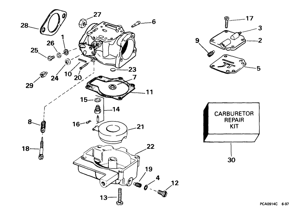
CARBURETOR -- 30E 30EL
Корзина пуста
Johnson
J25ELEED
J25ELEED
CARBURETOR -- 30E 30EL
№
Наименование
Примечание
Кол-во
1
LOCKWASHER
1
2
COVER & NIPPLE ASY
1
3
NIPPLECARB BODY
1
4
O-RING BLU (Also Available in Carburetor Repair Kit.)
1
5
GASKET (Also Available in Carburetor Repair Kit.)
1
6
NIPPLE
1
7
GASKET CARB 5PK (Also Available in Carburetor Repair Kit.) (005 per pack)
1
8
SPRING
1
9
ORIFICE PLUG-57D (55 Models.)
1
10
ROLL PIN
2
11
GASKET 5PK (Also Available in Carburetor Repair Kit.) (005 per pack)
1
12
Детать
1
13
SCREW
4
14
FLOAT VLV/SEAT (005 per pack)
1
15
WASHER (Also Available in Carburetor Repair Kit.)
1
16
CLIPSPRING (Also Available in Carburetor Repair Kit.)
1
17
SCREW
4
18
VALVENEEDLE
1
19
ORIFICE PLUG 67D
1
20
PIN (Also Available in Carburetor Repair Kit.)
1
21
FLOAT & ARM (Also Available in Carburetor Repair Kit.)
1
22
CHAMBER&NIPPLE AY
1
23
PLUG (Also Available in Carburetor Repair Kit.)
1
24
FASTENER (Also Available in Carburetor Repair Kit.)
1
25
SCREW-ADJ LEVER
1
26
WASHER
1
27
NUT
2
28
GASKET 5PK (Also Available in Carburetor Repair Kit.) (005 per pack)
1
29
RETAINER
1
30
KIT AYCARB REPAIR
1
0439377
CARBURETOR AY (Not Shown.)
1