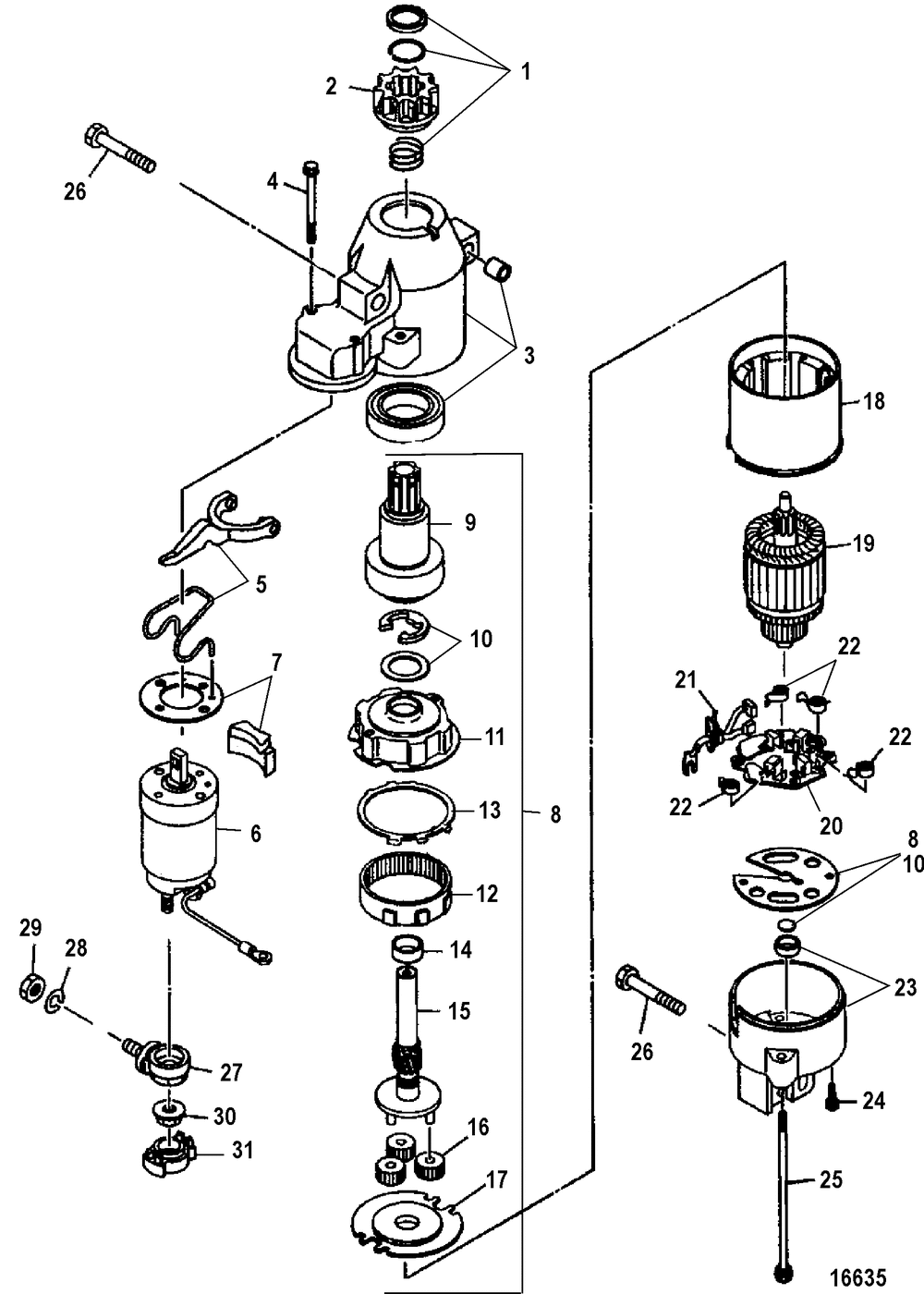
| № | Наименование | Примечание | Кол-во |
|---|---|---|---|
| - | STARTER MOTOR | 1 | |
| 1 | STOP SET | 1 | |
| 2 | PINION | 1 | |
| 3 | COVER | 1 | |
| 4 | BOLT | 2 | |
| 5 | LEVER | 1 | |
| 6 | STARTER RELAY | 1 | |
| 7 | COVER | 1 | |
| 8 | GEAR ASSY | 1 | |
| 9 | CLUTCH | 1 | |
| 10 | WASHER KIT | 1 | |
| 11 | BRACKET | 1 | |
| 12 | RING GEAR | 1 | |
| 13 | GASKET | 1 | |
| 14 | BEARING | 1 | |
| 15 | SHAFT | 1 | |
| 16 | GEAR-IDLER | 3 | |
| 17 | BRACKET | 1 | |
| 18 | STATOR | 1 | |
| 19 | ARMATURE | 1 | |
| 20 | BRUSH HOLDER | 1 | |
| 21 | BRUSH SET | 1 | |
| 22 | SPRING | 4 | |
| 23 | BRACKET | 1 | |
| 24 | SCREW | 2 | |
| 25 | BOLT | 2 | |
| 26 | BOLT | 3 | |
| 27 | TERMINAL | 1 | |
| 28 | LOCKWASHER | 1 | |
| 29 | NUT @5 (5 per pack) | 1 | |
| 30 | NUT | 1 | |
| 31 | COVER | 1 |
