| № | Наименование | Примечание | Кол-во |
|---|---|---|---|
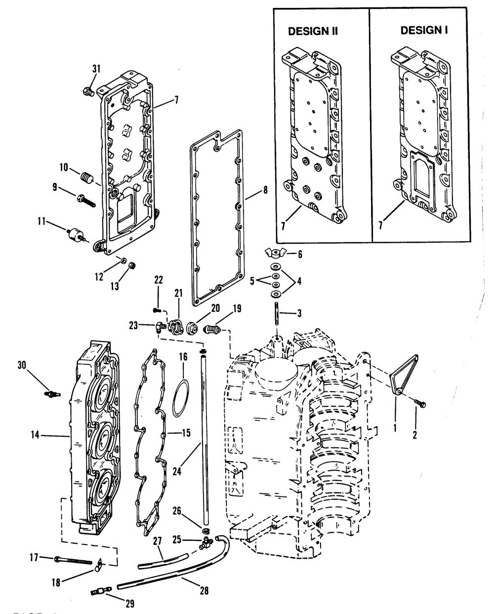
| 1 | BRACKET | 1 | |
| 2 | SCREW | 1 | |
| 3 | STUD | 4 | |
| 3 | STUD | 4 | |
| 4 | WASHER @5 (5 per pack) | 8 | |
| 5 | WASHER | 8 | |
| 6 | NUT-WING | 4 | |
| 7 | COVER | 1 | |
| 7 | EXH. MANIF. COVER | 1 | |
| 8 | GASKET | 1 | |
| 9 | SCREW | 17 | |
| 10 | PLUG | 1 | |
| 11 | MOUNT | 4 | |
| 12 | WASHER (10 per pack) | 8 | |
| 13 | NUT @5 (5 per pack) | 8 | |
| 14 | CYLINDER HEAD ASY | 2 | |
| 15 | SEAL | 2 | |
| 16 | O RING | 6 | |
| 17 | SCREW | 48 | |
| 17 | SCREW | 48 | |
| 18 | J CLIP Manual | 3 | |
| 19 | THERMOSTAT-120 | 2 | |
| 20 | GASKET @4 (4 per pack) | 2 | |
| 21 | COVER KIT-THERMO | 2 | |
| 22 | SCREW @5 (5 per pack) | 4 | |
| 23 | FITTING SNtahos_ 0G129222 & Up | 2 | |
| 24 | HOSE-48 INCH | 2 | |
| 25 | CONNECTOR | 1 | |
| 26 | TIE STRAP @100 (100 per pack) | 0 | |
| 28 | HOSE-57 INCH | 1 | |
| 29 | FITTING | 1 | |
| 30 | SENDER ASSY-TEMP | 1 | |
| 31 | PLUG | 1 |
