| № | Наименование | Примечание | Кол-во |
|---|---|---|---|
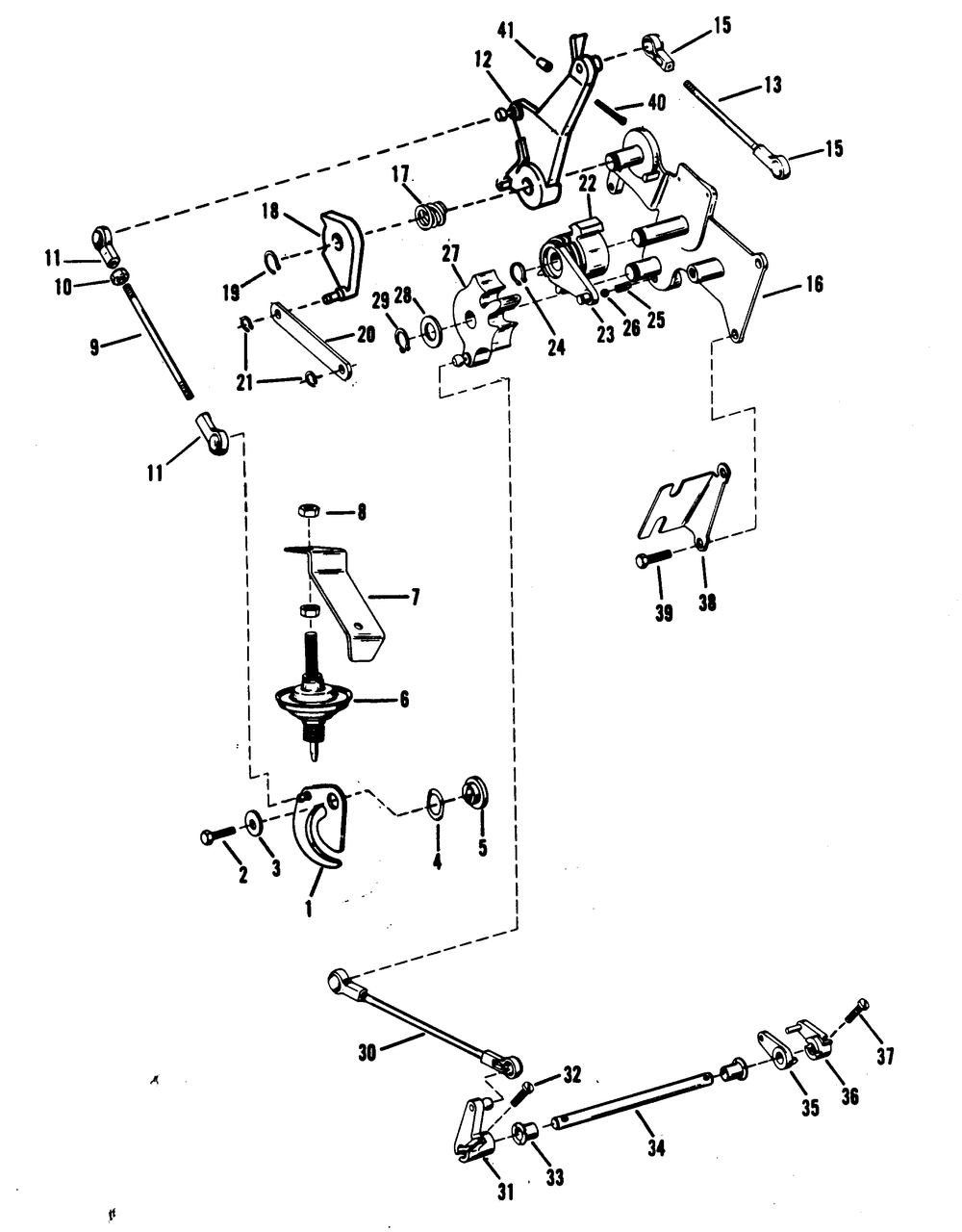
| 1 | CAM KIT-THROTTLE UNITED STATES B-114230 AND BELOW AUSTRALIA 9467987 AND BELOW CANADA A-719660 AND BELOW | 1 | |
| 1 | CAM KIT-THROTTLE UNITED STATES B-114231 AND UP AUSTRALIA 9467988 AND UP CANADA A-719661 AND UP | 1 | |
| 2 | SCREW @2 (2 per pack) | 1 | |
| 2 | SCREW UNITED STATES B-114231 AND UP AUSTRALIA 9467988 AND UP CANADA A-719661 AND UP | 1 | |
| 3 | WASHER | 1 | |
| 4 | WASHER-WAVE @5 (5 per pack) | 1 | |
| 5 | CAM KIT-THROTTLE | 1 | |
| 6 | DASH POT | 1 | |
| 7 | BRACKET | 1 | |
| 8 | NUT @5 (5 per pack) | 2 | |
| 9 | LINK ASSY | 1 | |
| 10 | NUT @5 (5 per pack) | 1 | |
| 11 | SOCKET-BALL | 2 | |
| 12 | LEVER-CONTROL | 1 | |
| 13 | TIMING LINK | 1 | |
| 16 | PLATFORM | 1 | |
| 17 | SPRING | 1 | |
| 18 | PRIMARY LEVER | 1 | |
| 19 | RETAINING RING | 1 | |
| 20 | PRIMARY LEVER | 1 | |
| 21 | RETNING RING@2 (2 per pack) | 2 | |
| 22 | ORD 94085A 1 | 1 | |
| 23 | PRIMARY LEVER | 1 | |
| 24 | SPRING | 1 | |
| 26 | BALL | 1 | |
| 27 | GEAR ASSY | 1 | |
| 28 | WASHER | 1 | |
| 30 | LINK | 1 | |
| 31 | LEVER | 1 | |
| 32 | SCREW | 1 | |
| 33 | BUSHING | 2 | |
| 34 | SHAFT | 1 | |
| 35 | LEVER | 1 | |
| 36 | LEVER | 1 | |
| 37 | SCREW @5 (5 per pack) | 1 | |
| 38 | BRACKET | 1 | |
| 39 | SCREW @3 (3 per pack) | 3 | |
| 40 | SCREW | 1 | |
| 41 | CAP DESIGN I | 1 |
