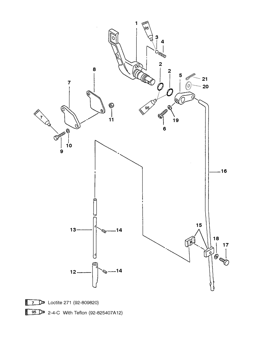
| № | Наименование | Примечание | Кол-во |
|---|---|---|---|
| 1 | SHIFT LEVER | 1 | |
| 2 | O RING | 2 | |
| 3 | BEARING-BALL | 1 | |
| 4 | SPRING | 1 | |
| 5 | SHIFT ROD LEVER | 1 | |
| 6 | SCREW | 1 | |
| 7 | COVER (BLACK) | 1 | |
| 7 | COVER (GRAY) | 1 | |
| 8 | GASKET | 1 | |
| 9 | BOLT | 2 | |
| 9 | BOLT (USE WITHOUT WASHER) | 2 | |
| 10 | WASHER | 2 | |
| 11 | NUT | 2 | |
| 12 | CLUTCH CAM | 1 | |
| 13 | CAM ROD (SHORT) | 1 | |
| 13 | CAM ROD-TH (LONG) | 1 | |
| 14 | PIN | 2 | |
| 15 | JOINT | 1 | |
| 16 | SHIFT ROD | 1 | |
| 19 | WASHER | 1 | |
| 20 | WASHER | 1 | |
| 21 | PIN-COTTER | 1 |
