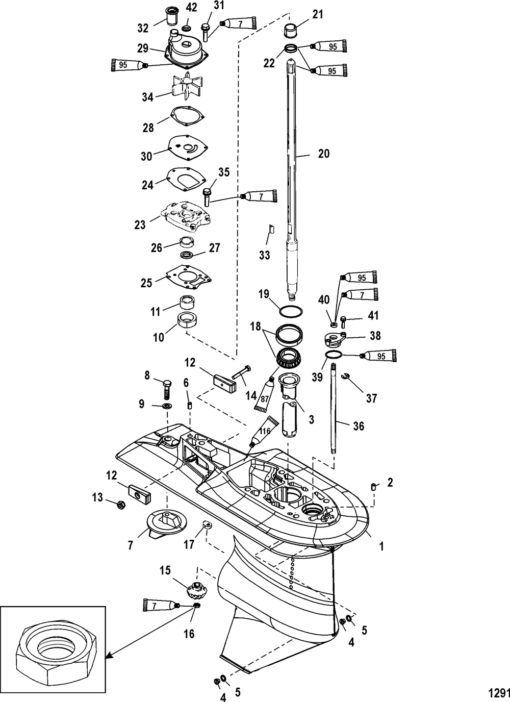
| № | Наименование | Примечание | Кол-во |
|---|---|---|---|
| - | SEAL KIT-G/H | 1 | |
| - | GC 40 BF 4S LG | 1 | |
| - | REPAIR KIT - IMP | 1 | |
| - | ORD 8M0113801 | 1 | |
| 1 | GEAR HSG-BASIC-BL (BLACK) | 1 | |
| 2 | PIN - DOWEL X-LONG | 1 | |
| 3 | TUBE-OILER | 1 | |
| 4 | SCREW-DRAIN @2 (2 per pack) | 3 | |
| 5 | SEAL-BLUE @15 (15 per pack) | 3 | |
| 6 | PIN-DOWEL-SOLID | 1 | |
| 7 | TRIM TAB | 1 | |
| 8 | SCREW | 1 | |
| 9 | WASHER | 1 | |
| 10 | CARRIER ASSY | 1 | |
| 12 | ANODE @3 DESIGN II (3 per pack) | 2 | |
| 13 | NUT @5 (5 per pack) | 1 | |
| 14 | SCREW @5 (5 per pack) | 1 | |
| 16 | NUT @5 (5 per pack) | 1 | |
| 17 | CAM-SHIFT CONTROL | 1 | |
| 18 | BEARING ASSY (Use W/Pinion stamped 43-881259) | 1 | |
| 19 | ORD 15-8M0063265 | 0 | |
| 20 | DRIVESHAFT ASSY | 1 | |
| 21 | SLEEVE/RING KIT | 1 | |
| 23 | ORD 8M0113262 | 1 | |
| 24 | GASKET | 1 | |
| 25 | GASKET | 1 | |
| 26 | SEAL | 1 | |
| 27 | SEAL | 1 | |
| 28 | GASKET | 1 | |
| 29 | HOUSING-W/P UPPER | 1 | |
| 30 | FACEPLATE-W/P | 1 | |
| 31 | SCREW | 4 | |
| 32 | COUPLER (SHORT) | 1 | |
| 32 | SEAL (SHORT - 1-3/4) | 1 | |
| 33 | KEY | 1 | |
| 34 | IMPELLER-W/P | 1 | |
| 35 | SCREW | 6 | |
| 36 | SHAFT KIT-LONG (LONG-12 IN.) | 1 | |
| 37 | E RING @2 (2 per pack) | 1 | |
| 38 | BUSHING KIT | 1 | |
| 39 | O RING @5 (5 per pack) | 1 | |
| 40 | SEAL | 1 | |
| 42 | ORD 26-816575A 2 | 1 |
