Оригинальные каталоги
Масла и жидкости
Масла моторные
Масла трансмиссионные
Жидкости гидравлические
Жидкости охлаждающие
Жидкости тормозные
Масла гидравлические
Масла для вилок и амортизаторов
Масла компрессорные
Жидкости для стекол
Масла для цепей бензопил
Масла индустриальные
Масла промывочные
Раствор мочевины AdBlue
Автоэлектроника
Видеорегистраторы
Пылесосы автомобильные
FM трансмиттеры
Зарядные устройства
Разветвители, удлинители прикуривателя
Кабели
Вентиляторы автомобильные
Штекер прикуривателя
Датчик парктроника
Камеры заднего вида
Мониторы парковочные
Парктроники
Термометры
Накидки на сиденье с подогревом
Автохолодильники
Антирадары
Диагностический сканер
Аксессуары
Набор автомобилиста
Ароматизаторы
Тросы буксировочные
Канистры
Ремни крепления груза
Стяжки-резинки крепления
Сетки для крепления груза
Скотч
Влажные салфетки
Держатели телефонов, планшетов
Карты памяти
Наушники
Аккумулятор холода
Термосумки и контейнеры
Фонарики
Батарейки
Оплетки на руль
Огнетушители
Салфетки, полотенца, варежки
Инструмент
Домкраты
Компрессоры
Манометры
Насосы
Светильники переносные
Шарнирно-губцевый инструмент
Ударный инструмент
Метчики. Плашки
Заклёпочники
Заклёпки
Измерительный инструмент
Свёрла
Отвёртки
Изолента
Надфили. Напильники
Ножи, ножовки
Щётки
Абразивная бумага
Специнструмент
Ключи
Хомуты
Дрель-шуруповерт
Автохимия
Присадки
Промывки
Очистители
Смазки спрей
Смазки пластичные
Герметики
Средство для рук
Клей
Лакокрасочные материалы
Автошампуни
Полироли
Антифриз для тормозной системы
Масло для пропитки фильтров
Антикоррозионные составы
Прочее
Электрооборудование
Зарядные устройства
Инверторы
Конвертеры
Звуковые сигналы
Провода прикуривания
Предохранители
Противотуманные фары
Дневные ходовые огни
Электрика фаркопа
Шины и диски
Автошины
Грузовые шины
Мотошины
Камеры
Мотокамеры
Лента обода шины
Колпаки
Диски
Одежда и экипировка
Жилеты
Запчасти
Аккумуляторы
Лампы
Щетки стеклоочистителя
Гофры глушителя
Велотовары
Велосипеды
Самокаты
Велокамеры
Искать по VIN или номеру детали
Поиск по штрих-коду
Искать по VIN-номеру
Войти
Авторизация
Логин
Пароль
Напомнить пароль
Запомнить
Войти
Зарегистрироваться
Авторизоваться другим способом
Востановить пароль
Введите ваш email:
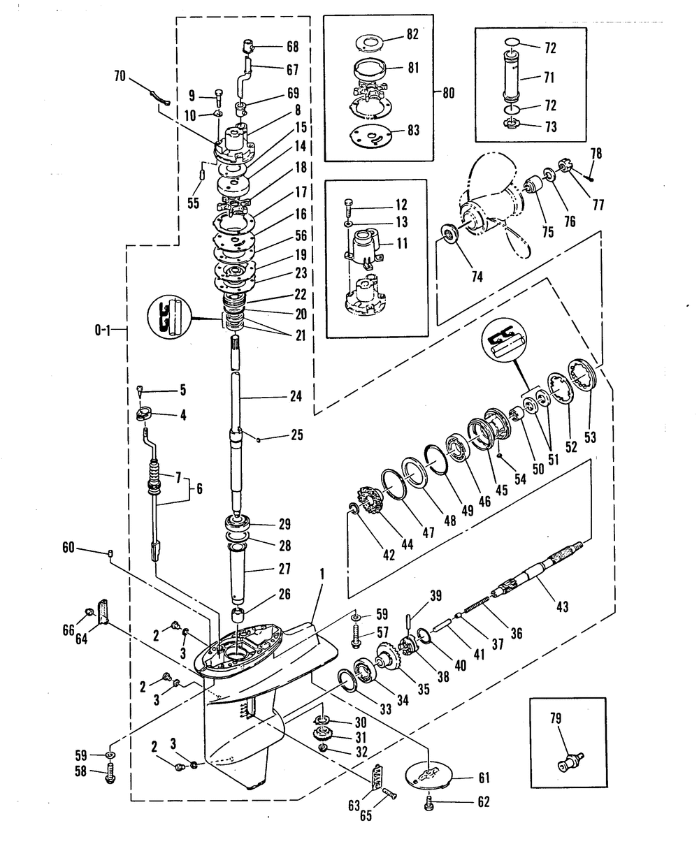
GEARHOUSING
Корзина пуста
Mariner
30A 689-105325 THRU 689-530100 (ML)
30A 689-105325 THRU 689-530100 (ML)
GEARHOUSING
№
Наименование
Примечание
Кол-во
0-1
GEAR HOUSING SERIAL 00005811-09999999
1
0-1
GEAR HOUSING SERIAL 00005811-09999999
1
1
GEAR HOUSING
1
2
PLUG @5 (5 per pack)
3
3
GASKET @5 (5 per pack)
3
4
BRACKET
1
5
SCREW
1
6
SHIFT SHAFT
1
6
SHIFT SHAFT
1
6
SHIFT SHAFT
1
6
SHIFT SHAFT M-030662 ML-329959 E-108559 EL-418520 AND ABOVE
1
6
SHIFT SHAFT M-030662 ML-329959 E-108559 EL-418520 AND ABOVE
1
6
SHIFT SHAFT M-030662 ML-329959 E-108559 EL-418520 AND ABOVE
1
7
BOOT
1
8
WATER PUMP HSG SERIAL 00005811-09999999
1
9
BOLT
3
11
EXTENSION
1
12
SCREW @5 SERIAL 00002351-09999999 (5 per pack)
3
13
WASHER @5 SERIAL 00008216-09999999 (5 per pack)
3
14
INSERT M-030662 ML-329959 E-108559 EL-418520 AND ABOVE
1
14
INSERT M-030661 ML-329958 E-108558 EL-418519 AND BELOW
1
15
WASHER KIT
1
16
PLATE M-030662 ML-329959 E-108559 EL-418520 AND ABOVE
1
16
BASE PLATE M-030661 ML-329958 E-108558 EL-418519 AND BELOW
1
17
GASKET SERIAL 00005811-09999999
1
18
IMPELLER
1
19
PROTECTOR
1
20
O RING
1
21
SEAL-OIL @2 (2 per pack)
2
22
COVER SERIAL 00005811-09999999
1
23
DRIVE SHAFT
1
24
DRIVE SHAFT
1
24
DRIVE SHAFT
1
25
KEY
1
26
BEARING-NEEDLE
1
27
SLEEVE
1
28
SHIM @5 (5 per pack)
0
28
SHIM @5 (5 per pack)
0
28
SHIM @5 (5 per pack)
0
28
SHIM @5 (5 per pack)
1
28
SHIM @5 (5 per pack)
0
28
SHIM @5 (5 per pack)
0
28
SHIM @5 M-030662 ML-329959 E-108559 EL-418520 AND ABOVE (5 per pack)
0
28
SHIM @5 M-030662 ML-329959 E-108559 EL-418520 AND ABOVE (5 per pack)
0
28
SHIM @5 M-030662 ML-329959 E-108559 EL-418520 AND ABOVE (5 per pack)
0
28
SHIM @5 M-030662 ML-329959 E-108559 EL-418520 AND ABOVE (5 per pack)
0
28
SHIM @5 M-030661 ML-329958 E-108558 EL-418519 AND BELOW (5 per pack)
0
29
BEARING
1
30
WASHER-THRUST
1
31
PINION GEAR
1
32
NUT
1
33
SHIM @5 (5 per pack)
0
33
SHIM @5 (5 per pack)
0
33
SHIM @5 (5 per pack)
0
33
SHIM @5 (5 per pack)
0
33
SHIM @5 (5 per pack)
0
33
SHIM @5 M-030662 ML-329959 E-108559 EL-418520 AND ABOVE (5 per pack)
0
33
SHIM @5 M-030662 ML-329959 E-108559 EL-418520 AND ABOVE (5 per pack)
0
33
SHIM @5 M-030662 ML-329959 E-108559 EL-418520 AND ABOVE (5 per pack)
0
33
SHIM @5 M-030662 ML-329959 E-108559 EL-418520 AND ABOVE (5 per pack)
0
34
BEARING
1
35
FORWARD GEAR
1
36
SPRING
1
37
SLIDE
1
38
CLUTCH
1
39
PIN
1
40
RING-RETAINING
1
41
FOLLOWER
1
42
WASHER @2 (2 per pack)
1
43
PROPSHAFT KIT M-030662 ML-329959 E-108559 EL-418520 AND ABOVE
1
44
REVERSE GEAR
1
45
BEARING CARRIER
1
46
BEARING-BALL
1
47
SHIM @5 (5 per pack)
0
47
SHIM @5 (5 per pack)
0
47
SHIM @5 (5 per pack)
0
47
SHIM @5 (5 per pack)
0
47
SHIM @5 (5 per pack)
0
47
SHIM @5 M-030662 ML-329959 E-108559 EL-418520 AND ABOVE (5 per pack)
0
47
SHIM @5 M-030662 ML-329959 E-108559 EL-418520 AND ABOVE (5 per pack)
0
47
SHIM @5 M-030662 ML-329959 E-108559 EL-418520 AND ABOVE (5 per pack)
0
47
SHIM @5 M-030662 ML-329959 E-108559 EL-418520 AND ABOVE (5 per pack)
0
48
WASHER
1
49
O-RING
1
50
BEARING
1
51
SEAL
2
52
WASHER-TAB
1
53
NUT
1
54
KEY
1
55
PIN
2
56
GASKET
1
57
BOLT SERIAL 00005811-00008215
2
58
BOLT SERIAL 00000000-00005810
2
59
WASHER @2 OPTIONAL PARTS (2 per pack)
4
60
PIN-DOWEL @2 (2 per pack)
2
61
TRIM TAB
1
62
BOLT
1
63
COVER SERIAL 00005811-09999999
1
64
COVER SERIAL 00005811-09999999
1
65
SCREW
1
66
NUT
1
67
TUBING
1
67
TUBING
1
67
TUBING
1
68
SEAL
1
69
SEAL @2 (2 per pack)
1
70
SPACER
1
71
EXTENSION
1
72
O RING @2 (2 per pack)
2
73
PLATE SERIAL 00005811-09999999
1
74
THRUST WASHER
1
75
SPACER
1
76
WASHER
1
77
PROP NUT
1
78
PIN-COTTER @5 (5 per pack)
1
79
PLUG OPTIONAL PARTS
1
80
CHROME PUMP KIT
1
82
GASKET
1
83
GASKET SET .
1
83
REPAIR KIT .
1