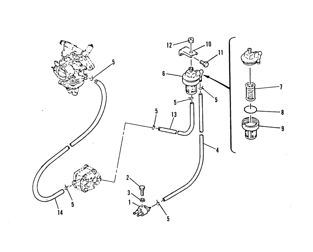
| № | Наименование | Примечание | Кол-во |
|---|---|---|---|
| -- | GASKET SET SERIAL 00010646-09999999 | 1 | |
| 1 | CONNECTOR-FUEL SERIAL 00008216-09999999 | 1 | |
| 2 | BOLT SERIAL 00000000-00008215 | 1 | |
| 3 | WASHER @5 SERIAL 00008216-09999999 (5 per pack) | 1 | |
| 4 | LINE-FUEL | 1 | |
| 5 | CLIP @5 (5 per pack) | 6 | |
| 6 | FILTER ASSY | 1 | |
| 7 | FILTER | 1 | |
| 8 | O RING @5 (5 per pack) | 1 | |
| 9 | BOWL | 1 | |
| 10 | BRACKET | 1 | |
| 11 | BOLT | 1 | |
| 12 | NUT @5 (5 per pack) | 1 | |
| 13 | HOSE | 1 | |
| 14 | HOSE | 1 |
