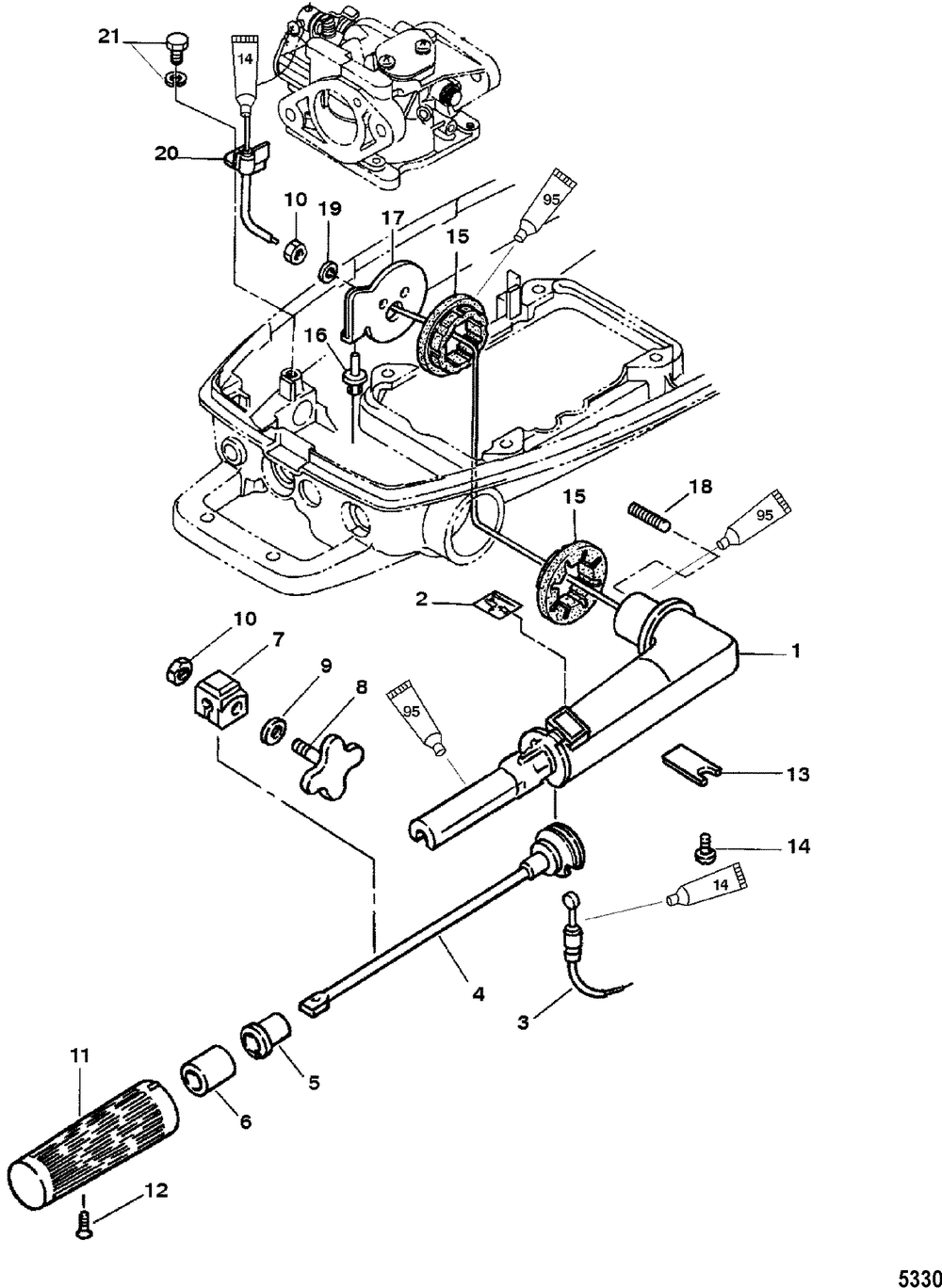
| № | Наименование | Примечание | Кол-во |
|---|---|---|---|
| 1 | HANDLE-THROTTLE | 1 | |
| 2 | DECAL-THROTTLE | 1 | |
| 3 | WIRE-THROTTLE | 1 | |
| 4 | SHAFT-THROTTLE | 1 | |
| 5 | BUSHING | 1 | |
| 6 | SPACER | 1 | |
| 7 | FRICTION PIECE | 1 | |
| 8 | SCREW | 1 | |
| 9 | WASHER | 1 | |
| 10 | NUT | 3 | |
| 11 | GRIP | 1 | |
| 12 | SCREW | 1 | |
| 13 | BRACKET | 1 | |
| 14 | SCREW | 1 | |
| 15 | BUSHING | 2 | |
| 16 | PIN | 1 | |
| 17 | RETAINER | 1 | |
| 18 | STUD | 2 | |
| 19 | LOCKWASHER @5 (5 per pack) | 2 | |
| 20 | BRACKET | 1 | |
| 21 | BOLT | 1 |
