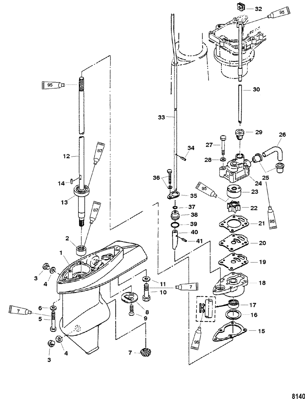
Gear Housing Driveshaft

Корзина пуста