| № | Наименование | Примечание | Кол-во |
|---|---|---|---|
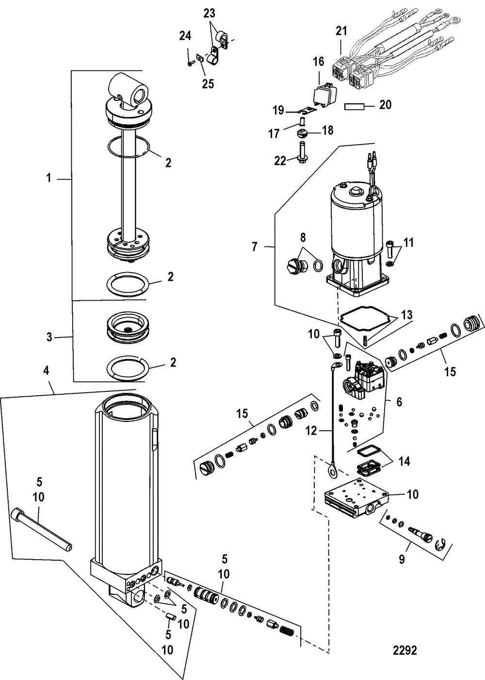
| - | ORD 25-8M0089947 | 1 | |
| - | POWER TRIM ASSY | 1 | |
| - | POWER TRIM ASSY | 1 | |
| 1 | SHOCK ROD KIT | 1 | |
| 2 | O RING KIT | 1 | |
| 3 | MEMORY PISTON | 1 | |
| 4 | ORD 8M0055015 | 1 | |
| 5 | ORD 8M0058589 | 1 | |
| 6 | ORD 8M0055019 | 1 | |
| 7 | MOTOR KIT | 1 | |
| 8 | PLUG ASSY-RESERVO | 1 | |
| 9 | VALVE KIT-RELIEF | 1 | |
| 10 | ORD 8M0055018 | 1 | |
| 11 | SCREW KIT | 1 | |
| 12 | CABLE ASSY | 1 | |
| 13 | DRIVESHAFT ASSY | 1 | |
| 14 | FILTER KIT | 1 | |
| 15 | POPPET KIT | 1 | |
| 16 | RELAY ASSY-TRIM | 2 | |
| 17 | BUSHING | 2 | |
| 18 | GROMMET | 2 | |
| 19 | BRACKET | 2 | |
| 21 | HARNESS ASSY SNtahos_ USA-0G438000/BEL-9927000 & Up | 1 | |
| 22 | SCREW SNtahos_ USA-0G438000/BEL-9927000 & Up | 2 | |
| 23 | CLIP | 2 | |
| 24 | SCREW | 1 | |
| 25 | WASHER | 1 |
