| № | Наименование | Примечание | Кол-во |
|---|---|---|---|
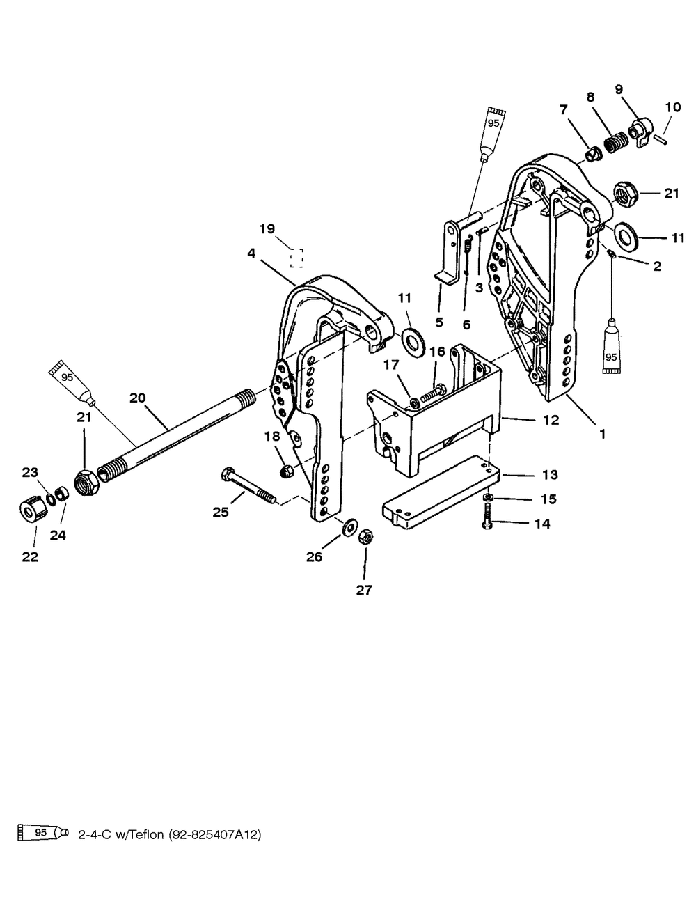
| 1 | TRANSOM BRACKET A (PORT) | 1 | |
| 1 | BRKT-TRANSOM-GRAY (GRAY) PORT ELECTRIC | 1 | |
| 2 | FITTING @2 (2 per pack) | 1 | |
| 3 | PIN-GROOVE | 1 | |
| 4 | TRANSOM BRACKET-S (STARBOARD) | 1 | |
| 4 | BRKT-TRANSOM-GRAY (GRAY) STARBOARD ELECTRIC | 1 | |
| 5 | TILT LOCK LEVER-P | 1 | |
| 5 | ORD 19618A 2 (GRAY) | 1 | |
| 6 | SPRING | 1 | |
| 7 | NYLINER | 1 | |
| 8 | SPRING | 1 | |
| 9 | KNOB | 1 | |
| 9 | ORD 812709 (GRAY) | 1 | |
| 10 | PIN-GROOVE | 1 | |
| 11 | WASHER | 2 | |
| 12 | ORD 18486A08 | 1 | |
| 12 | ORD 18486A08 (GRAY) | 1 | |
| 13 | ANODE KIT | 1 | |
| 14 | SCREW @5 (5 per pack) | 2 | |
| 15 | WASHER (10 per pack) | 2 | |
| 16 | SCREW @10 (10 per pack) | 1 | |
| 16 | SCREW @5 (5 per pack) | 5 | |
| 17 | LOCKWASHER | 4 | |
| 18 | NUT @5 (5 per pack) | 2 | |
| 20 | TILT TUBE EDP | 1 | |
| 21 | NUT @5 (5 per pack) | 2 | |
| 22 | SEAL KIT | 1 | |
| 23 | O RING @5 (5 per pack) | 1 | |
| 24 | SPACER NON HANDLE | 1 | |
| 25 | SCREW | 4 | |
| 26 | WASHER @5 (5 per pack) | 4 |
