| № | Наименование | Примечание | Кол-во |
|---|---|---|---|
| - | GASKET | 1 | |
| - | GC 40 2S SH INTL Short | 1 | |
| - | ORD 8M0119566 Long | 1 | |
| - | GEAR HOUSING COMP X-Long | 1 | |
| - | HUB-RUBBER | 1 | |
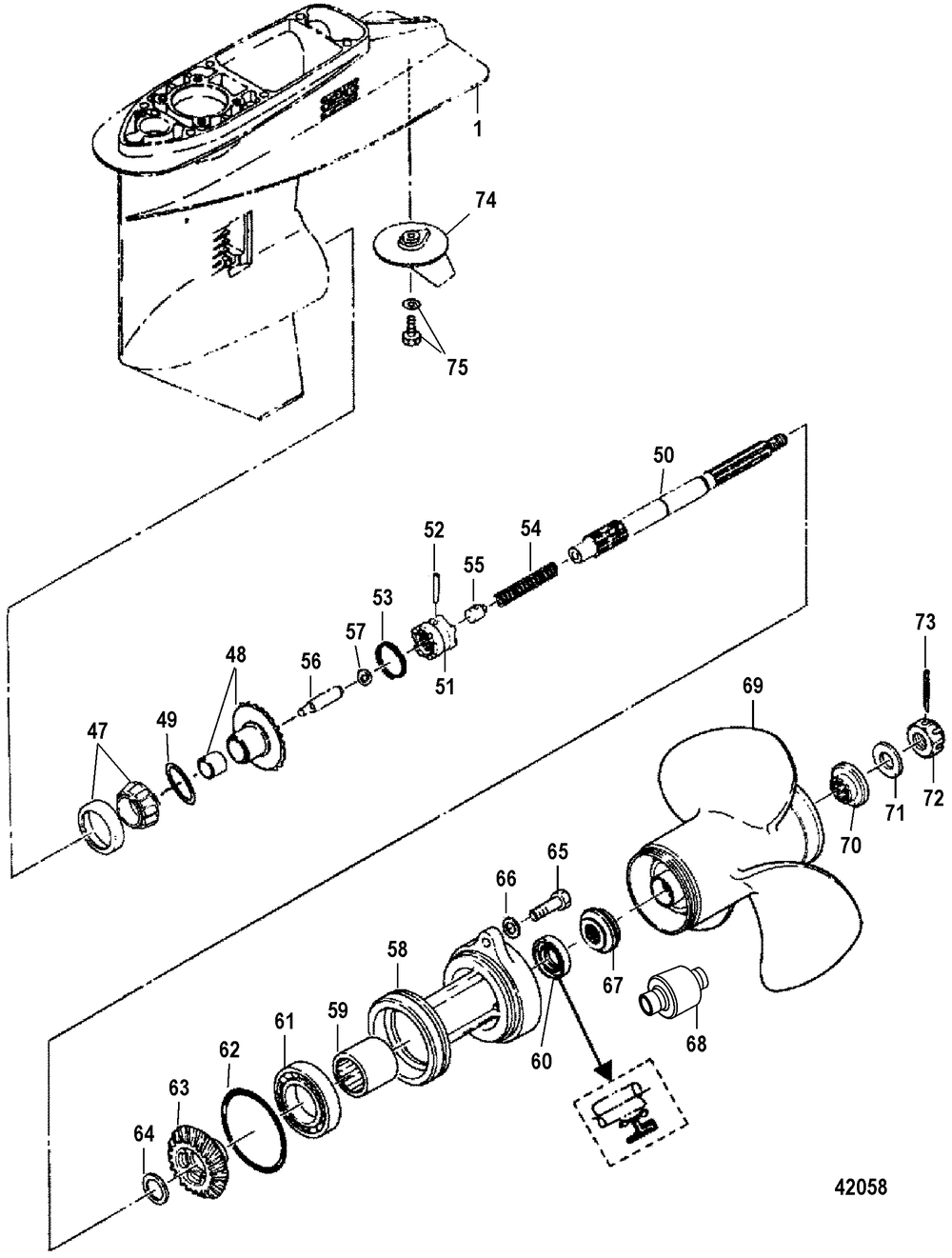
| 1 | GC BASIC 40 2S Short and Long | 1 | |
| 47 | BEARING | 1 | |
| 48 | GEAR-FORWARD | 1 | |
| 49 | SHIM (.3) | 0 | |
| 49 | SHIM (.15) | 0 | |
| 49 | SHIM (.1) | 0 | |
| 50 | PROP SHAFT | 1 | |
| 51 | CLUTCH | 1 | |
| 52 | PIN-CLUTCH | 1 | |
| 53 | SPRING | 1 | |
| 54 | SPRING | 1 | |
| 55 | HOLDER | 1 | |
| 56 | BALL-STEEL | 1 | |
| 57 | CAM FOLLOWER | 1 | |
| 58 | BEARING CARRIER | 1 | |
| 59 | BEARING | 1 | |
| 60 | OIL SEAL | 1 | |
| 61 | BEARING | 1 | |
| 62 | O RING | 1 | |
| 63 | GEAR-REVERSE | 1 | |
| 64 | WASHER | 1 | |
| 65 | BOLT | 2 | |
| 66 | WASHER @2 (2 per pack) | 2 | |
| 67 | THRUST HUB | 1 | |
| 69 | ORD QA2064X | 0 | |
| 69 | ORD 48-802628T04 | 0 | |
| 69 | PROPELLER 13.5 | 1 | |
| 69 | ORD 48-802621T06 | 0 | |
| 69 | ORD 48-816702A45 | 0 | |
| 69 | ORD 48-802621T08 | 1 | |
| 70 | STOPPER-PROP | 1 | |
| 71 | WASHER | 1 | |
| 72 | NUT | 1 | |
| 73 | PIN-COTTER @2 (2 per pack) | 1 | |
| 74 | TRIM TAB | 1 | |
| 75 | BOLT | 1 |
