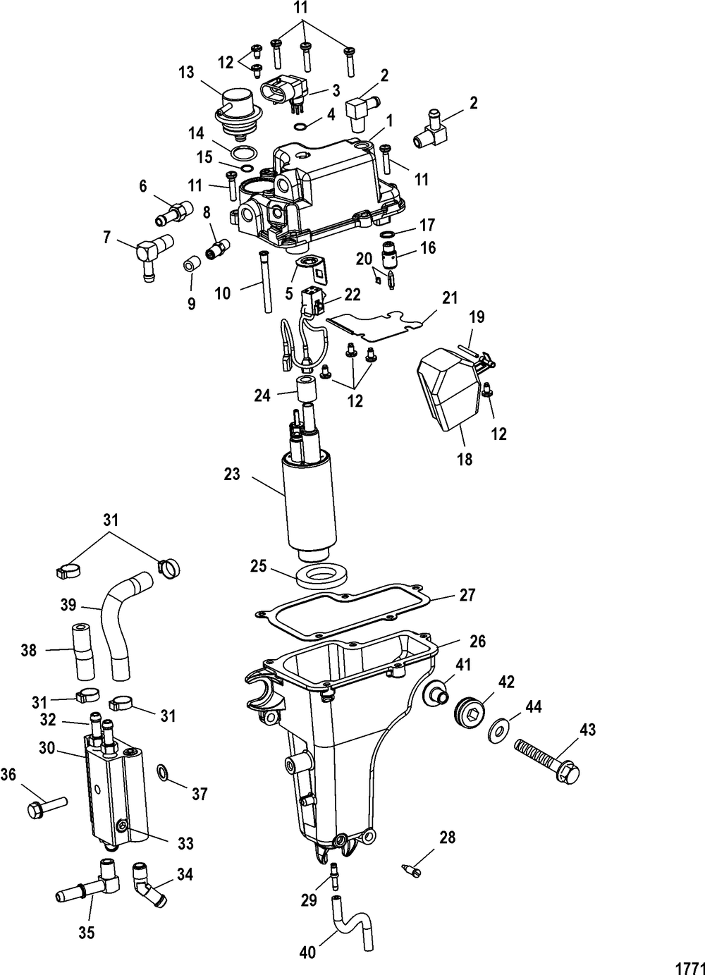
| № | Наименование | Примечание | Кол-во |
|---|---|---|---|
| - | GASKET SET | 1 | |
| 1 | COVER KIT | 1 | |
| 2 | ELBOW | 2 | |
| 3 | PASS-THRU ELECKIT | 1 | |
| 4 | O-RING | 1 | |
| 6 | FITTING | 1 | |
| 7 | FITTING | 1 | |
| 8 | VALVE | 1 | |
| 9 | CAP | 1 | |
| 10 | DRAIN TUBE | 1 | |
| 11 | SCREW ASSY | 5 | |
| 12 | SCREW | 6 | |
| 13 | REGULATOR KIT | 1 | |
| 14 | O RING KIT | 1 | |
| 16 | SEAT KIT | 1 | |
| 17 | GASKET | 1 | |
| 18 | FLOAT KIT | 1 | |
| 19 | SHAFT | 1 | |
| 20 | INLET NEEDLE KIT | 1 | |
| 21 | FUEL BAFFLE | 1 | |
| 22 | HARNESS ASSY | 1 | |
| 23 | PUMP KIT SNtahos_ USA-0T979999/BEL-0P325499 & Below | 1 | |
| 24 | SLEEVE-FUEL PUMP | 1 | |
| 25 | GROMMET | 1 | |
| 26 | FUEL BOWL KIT | 1 | |
| 27 | GASKET | 1 | |
| 28 | SCREW | 1 | |
| 29 | FITTING SNtahos_ 0T800999 & Below | 1 | |
| 30 | FUEL COOLER BODY | 1 | |
| 31 | CLAMP @2 (2 per pack) | 4 | |
| 33 | PLUG | 5 | |
| 34 | ELBOW | 2 | |
| 35 | FITTING | 1 | |
| 36 | SCREW | 1 | |
| 37 | GASKET | 1 | |
| 38 | HOSE | 1 | |
| 40 | HOSE SNtahos_ 0T800999 & Below | 1 | |
| 41 | BUSHING | 3 | |
| 42 | GROMMET | 3 | |
| 43 | SCREW | 3 | |
| 44 | WASHER @5 (5 per pack) | 3 |
