| № | Наименование | Примечание | Кол-во |
|---|---|---|---|
| - | ORD 8M0113799 | 1 | |
| - | GC 60 3CYL 2S LG | 1 | |
| - | GC 60 BF LL-BLK | 1 | |
| - | ORD 1667-9011G92 | 1 | |
| - | GEAR HOUSING | 1 | |
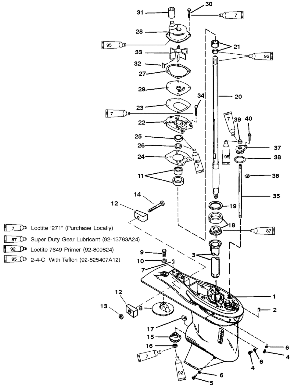
| 1 | GEAR HSG-BASIC-BL (BLACK) | 1 | |
| 1 | ORD 1667-9011T73 (GRAY) | 1 | |
| 2 | PIN - DOWEL X-LONG | 1 | |
| 3 | TUBE-OILER | 1 | |
| 4 | SCREW-DRAIN @2 (2 per pack) | 2 | |
| 5 | SCREW KIT @2 (2 per pack) | 1 | |
| 6 | SEAL-BLUE @15 (15 per pack) | 3 | |
| 7 | PIN-DOWEL-SOLID | 1 | |
| 8 | TRIM TAB (USE W/GH WITH ANODES) | 1 | |
| 9 | SCREW | 1 | |
| 10 | WASHER @5 (5 per pack) | 1 | |
| 11 | CARRIER ASSY | 1 | |
| 12 | ANODE @3 DESIGN II (3 per pack) | 2 | |
| 13 | NUT @5 (5 per pack) | 1 | |
| 14 | SCREW @5 (5 per pack) | 1 | |
| 15 | GEAR-PINION (HIGH ALTITUDE) (2.31:1 GEAR RATIO - 13 TEETH) | 1 | |
| 16 | NUT @5 (5 per pack) | 1 | |
| 17 | CAM-SHIFT @2 (2 per pack) | 1 | |
| 18 | BEARING KIT | 1 |
