| № | Наименование | Примечание | Кол-во |
|---|---|---|---|
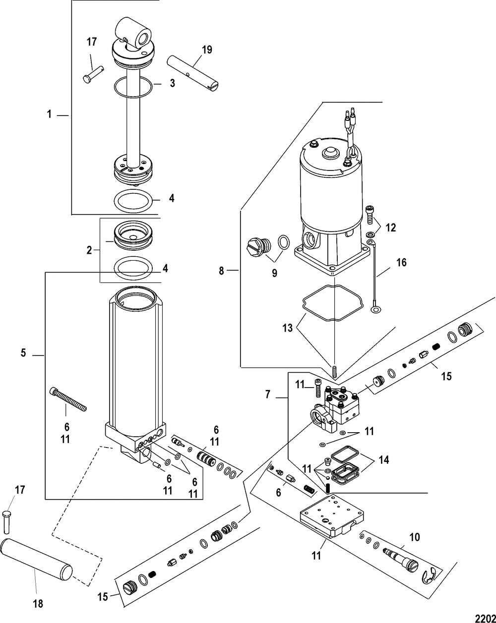
| - | ORD 25-8M0089947 | 1 | |
| - | POWER TRIM ASSY (BIGFOOT) | 1 | |
| - | POWER TRIM ASSY SNtahos_ USA-0T842261/BEL-0P279983 and up & Up | 1 | |
| 1 | SHOCK ROD KIT | 1 | |
| 1 | SHOCK ROD SNtahos_ USA-0T842261/BEL-0P279983 and up & Up | 1 | |
| 2 | MEMORY PISTON | 1 | |
| 3 | O RING KIT | 1 | |
| 5 | ORD 8M0055016 | 1 | |
| 6 | VAVLE KIT-TRIM (BIGFOOT) | 1 | |
| 7 | ORD 8M0055019 | 1 | |
| 8 | MOTOR KIT | 1 | |
| 9 | PLUG ASSY-RESERVO | 1 | |
| 10 | VALVE KIT-RELIEF | 1 | |
| 11 | ORD 8M0055018 | 1 | |
| 12 | SCREW KIT | 1 | |
| 13 | DRIVESHAFT ASSY | 1 | |
| 14 | FILTER KIT | 1 | |
| 15 | POPPET KIT | 1 | |
| 16 | CABLE ASSY | 1 | |
| 17 | PIN-TRILOBE | 2 | |
| 18 | PIN | 1 | |
| 19 | PIN-TRIM | 1 |
