| № | Наименование | Примечание | Кол-во |
|---|---|---|---|
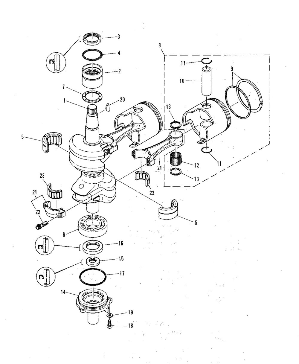
| 1 | CRANKSHAFT | 1 | |
| 2 | BEARING | 1 | |
| 3 | SEAL | 1 | |
| 4 | O RING | 1 | |
| 5 | BEARING | 1 | |
| 6 | BALL BEARING | 1 | |
| 7 | SHIM | 1 | |
| 8 | PISTON | 2 | |
| 8 | PISTON | 0 | |
| 8 | PISTON | 0 | |
| 9 | PISTON RING | 2 | |
| 9 | PISTON RING | 0 | |
| 9 | PISTON RING | 0 | |
| 10 | PIN-PISTON | 2 | |
| 11 | SNAP RING @2 (2 per pack) | 4 | |
| 12 | BRG-NEEDLE @60 (60 per pack) | 56 | |
| 13 | WASHER @2 (2 per pack) | 4 | |
| 14 | HOUSING | 1 | |
| 15 | SEAL | 1 | |
| 16 | SEAL | 1 | |
| 17 | O RING | 1 | |
| 18 | BOLT | 3 | |
| 19 | WASHER @5 SERIAL 00008216-09999999 (5 per pack) | 3 | |
| 20 | KEY @2 (2 per pack) | 1 | |
| 21 | CONNECTING ROD | 2 | |
| 22 | SCREW @2 (2 per pack) | 4 | |
| 23 | BEARING | 2 |
