| № | Наименование | Примечание | Кол-во |
|---|---|---|---|
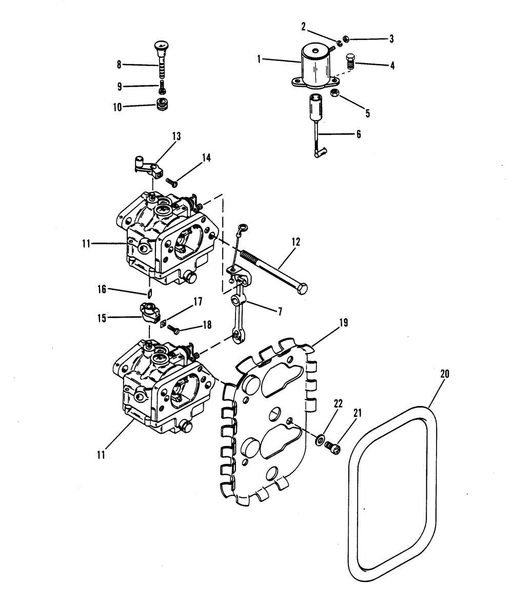
| 1 | CHOKE SOLENOID | 1 | |
| 2 | LOCKWASHER @15 (15 per pack) | 1 | |
| 3 | NUT @5 (5 per pack) | 1 | |
| 4 | SCREW @5 (5 per pack) | 1 | |
| 4 | BOLT | 1 | |
| 5 | NUT @5 (5 per pack) | 2 | |
| 6 | PLUNGER ASSY | 1 | |
| 7 | CHOKE ROD ASSY | 1 | |
| 8 | CHOKE KNOB ASSY | 1 | |
| 9 | SCREW | 1 | |
| 10 | GROMMET @5 (5 per pack) | 1 | |
| 11 | CARBURETOR TOP | 2 | |
| 11 | REF OB PB 95-13 | 2 | |
| 12 | SCREW | 4 | |
| 13 | LEVER | 1 | |
| 14 | SCREW @2 (2 per pack) | 1 | |
| 15 | COUPLING ASSY | 1 | |
| 16 | KEY | 1 | |
| 17 | NUT-PUSH | 1 | |
| 19 | PLATE ASSY | 1 | |
| 20 | SEAL | 1 | |
| 21 | SCREW @5 (5 per pack) | 4 | |
| 22 | WASHER (10 per pack) | 4 |
