| № | Наименование | Примечание | Кол-во |
|---|---|---|---|
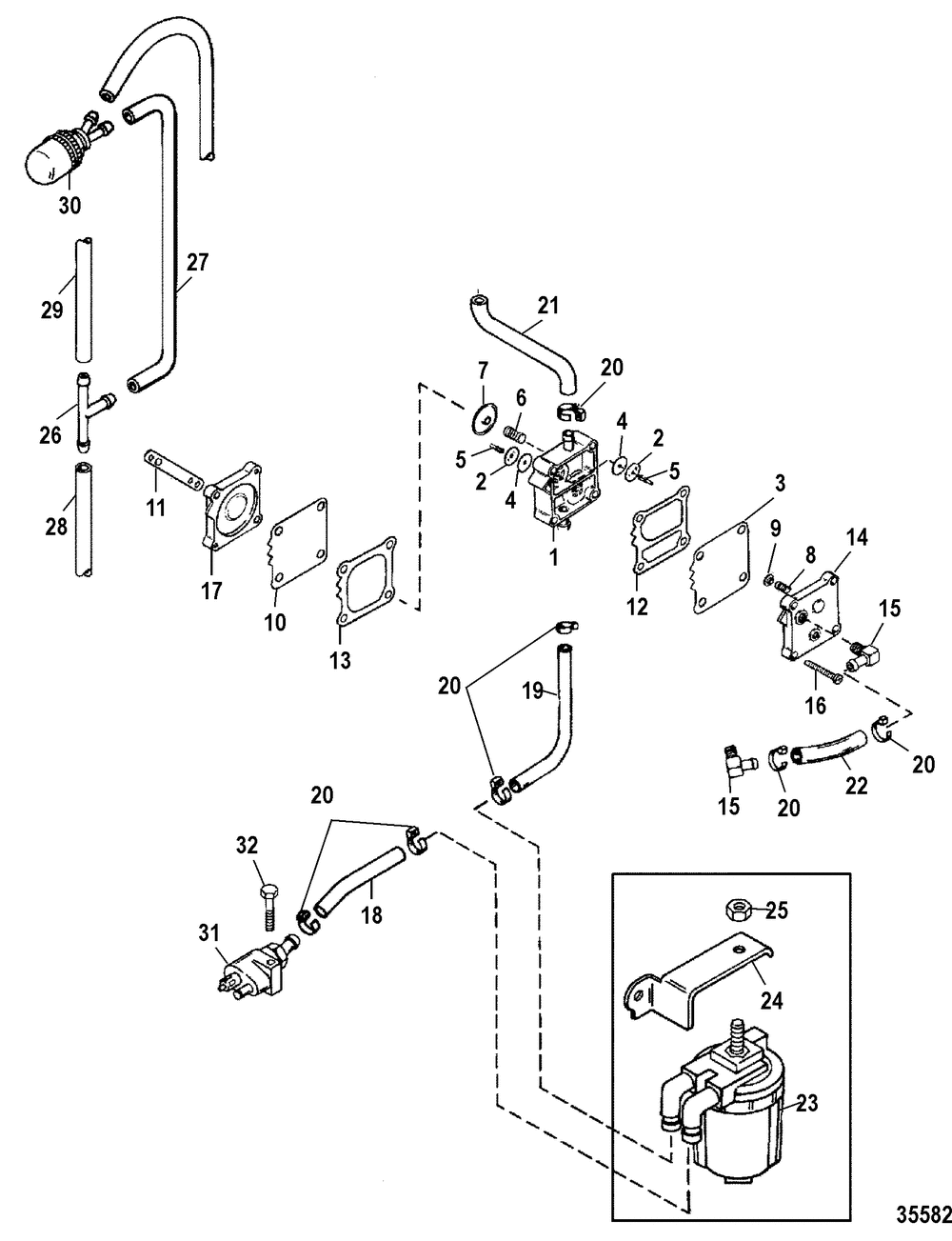
| - | PUMP KIT-FUEL | 1 | |
| - | GASKET SET | 1 | |
| - | PH 60 3CYL | 1 | |
| 2 | DIAPHRAM KIT | 2 | |
| 11 | GASKET | 1 | |
| 14 | PLATE-CHAMBER | 1 | |
| 15 | CONNECTOR | 2 | |
| 16 | SCREW | 2 | |
| 16 | SCREW | 2 | |
| 17 | BASE | 1 | |
| 18 | HOSE-70 INCH | 1 | |
| 20 | TIE STRAP @100 (100 per pack) | 0 | |
| 21 | HOSE | 1 | |
| 22 | TUBING-26.00 INCH | 1 | |
| 23 | ORD 8M0063726 | 1 | |
| 24 | BRACKET | 1 | |
| 25 | NUT | 1 | |
| 26 | FITTING @2 (2 per pack) | 1 | |
| 27 | TUBING-20 FEET SNtahos_ USA-0G301750/BEL-9885504 & Below | 2 | |
| 30 | PRIMER ELECTRIC HANDLE | 1 | |
| 31 | CONNECTOR-FUEL | 1 | |
| 32 | SCREW | 1 |
