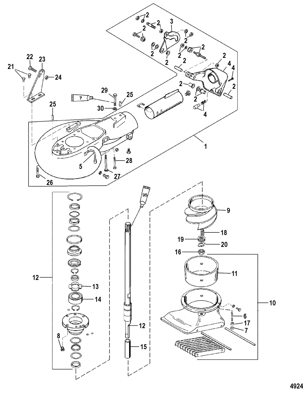
Jet Pump Assembly

Корзина пуста