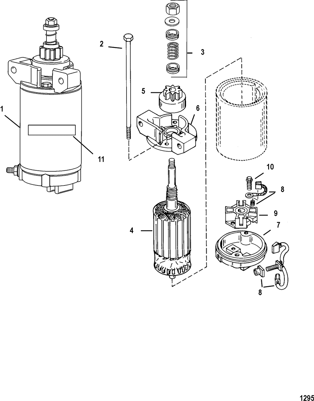
Starter Motor(USA- 1B282399 and Below)

Корзина пуста