| № | Наименование | Примечание | Кол-во |
|---|---|---|---|
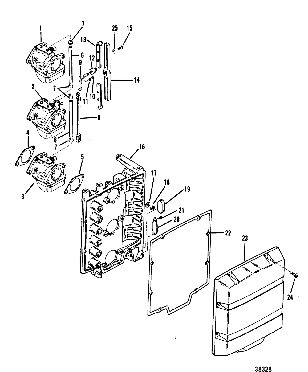
| - | GASKET SET | 0 | |
| 1 | CARBURETOR (UPPER) 70 - WME-4 | 1 | |
| 1 | CARBURETOR (UPPER) 75 - WME-6 | 1 | |
| 1 | CARBURETOR (UPPER) 80 - WME-1 | 1 | |
| 1 | CARBURETOR (UPPER) 90 - WME-5 | 1 | |
| 2 | CARBURETOR (MIDDLE)70 - WME-4 | 1 | |
| 2 | CARBURETOR (MIDDLE) 75 - WME-6 | 1 | |
| 2 | CARBURETOR (MIDDLE) 80 - WME-1 | 1 | |
| 2 | CARBURETOR (MIDDLE) 90 - WME-5 | 1 | |
| 3 | CARBURETOR (LOWER)70 - WME-4 | 1 | |
| 3 | CARBURETOR (LOWER) 75 - WME-6 | 1 | |
| 3 | CARBURETOR (LOWER) 80 - WME-1 | 1 | |
| 3 | CARBURETOR (LOWER) 90 - WME-5 | 1 | |
| 4/5 | GASKET | 6 | |
| 6 | TUBING-26.00 INCH | 2 | |
| 7 | TIE STRAP @100 (100 per pack) | 4 | |
| 8 | LINK | 1 | |
| 9 | ARM ASSY | 1 | |
| 10 | SCREW | 1 | |
| 11 | WASHER @5 (5 per pack) | 1 | |
| 12 | ROLLER | 1 | |
| 13 | LINK-THRTL ADJUST | 2 | |
| 14 | LINK | 1 | |
| 15 | SCREW @2 (2 per pack) | 4 | |
| 16 | PLATE-ATTENUATOR | 1 | |
| 17 | WASHER @3 (3 per pack) | 6 | |
| 18 | NUT @5 (5 per pack) | 6 | |
| 19 | CUP | 1 | |
| 20 | LATCH | 1 | |
| 21 | SCREW-DRIVE | 2 | |
| 22 | GASKET | 1 | |
| 23 | COVER | 1 |
