| № | Наименование | Примечание | Кол-во |
|---|---|---|---|
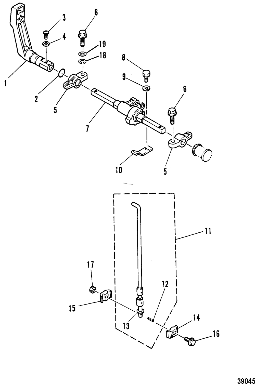
| 1 | HANDLE | 1 | |
| 2 | O RING | 1 | |
| 3 | SCREW @2 (2 per pack) | 1 | |
| 4 | WASHER @5 (5 per pack) | 1 | |
| 5 | BRACKET | 2 | |
| 6 | BOLT SERIAL 00000000-00008215 | 2 | |
| 7 | LEVER | 1 | |
| 8 | BOLT | 1 | |
| 9 | WASHER @5 SERIAL 00008216-09999999 (5 per pack) | 1 | |
| 10 | SPRING | 1 | |
| 11 | SHIFT ROD | 1 | |
| 12 | PIN | 1 | |
| 14 | CONNECTOR | 1 | |
| 15 | CONNECTOR | 1 | |
| 16 | BOLT | 1 | |
| 17 | NUT @2 (2 per pack) | 1 | |
| 18 | LOCKWASHER @5 SERIAL 00000000-00008215 (5 per pack) | 1 | |
| 19 | WASHER @5 (5 per pack) | 1 |
