| № | Наименование | Примечание | Кол-во |
|---|---|---|---|
| - | GASKET SET | 1 | |
| - | GC 8/9.9 4S LG Long SNtahos_ USA-0R198975/BEL-0P513351 & Below | 1 | |
| - | GC 8/9.9 4S LG Long SNtahos_ USA-0R198976/BEL-0P513352 & Up | 1 | |
| - | GC 8/9.9 4S XL X-Long SNtahos_ USA-0R198975/BEL-0P513351 & Below | 1 | |
| - | GC 8/9.9 4S XL X-Long SNtahos_ USA-0R198976/BEL-0P513352 & Up | 1 | |
| - | KIT-IMPELLER@2 Quicksilver Brand (2 per pack) | 1 | |
| - | REPAIR KIT W/P | 1 | |
| - | KIT-IMPELLER@2 Mercury Brand (2 per pack) | 1 | |
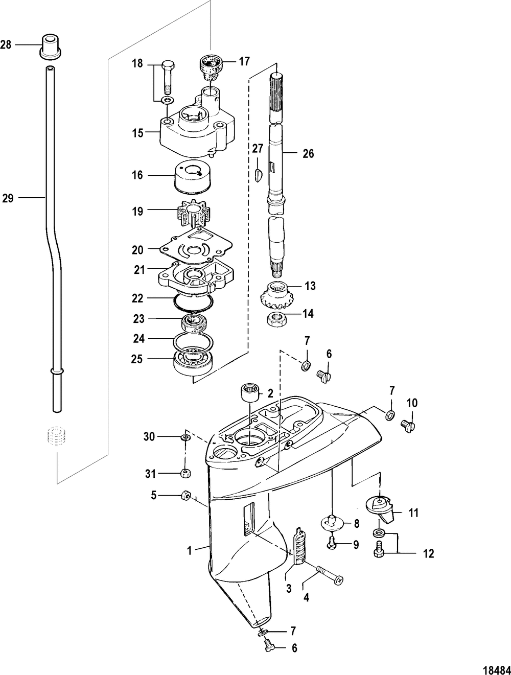
| 1 | GC BASIC 8/9.9 4S | 1 | |
| 2 | BEARING-NEEDLE | 1 | |
| 3 | WATER STRAINER | 2 | |
| 4 | SCREW | 1 | |
| 5 | NUT | 1 | |
| 6 | PLUG-OIL | 2 | |
| 7 | ORD 8M0082880 | 3 | |
| 8 | STRAINER | 1 | |
| 9 | SCREW | 1 | |
| 11 | TRIM TAB | 1 | |
| 12 | BOLT | 1 | |
| 13 | GEAR-PINION | 1 | |
| 14 | NUT | 1 | |
| 15 | HOUSING-UPPER W/P | 1 | |
| 16 | LINER- W/P | 1 | |
| 17 | SEAL | 1 | |
| 18 | BOLT | 3 | |
| 19 | IMPELLER | 1 | |
| 20 | GUIDE PLATE | 1 | |
| 21 | BASE ASSY W/P | 1 | |
| 22 | O RING | 1 | |
| 23 | OIL SEAL | 1 | |
| 24 | SHIM (.5) | 0 | |
| 24 | SHIM (.3) | 0 | |
| 24 | SHIM (.15) | 0 | |
| 24 | SHIM | 0 | |
| 25 | BEARING-BALL | 1 | |
| 26 | DRIVESHAFT LONG Long | 1 | |
| 26 | DRIVESHAFT XL X-Long | 1 | |
| 27 | KEY | 1 | |
| 28 | GROMMET | 1 | |
| 29 | WATER TUBE LONG Long | 1 | |
| 29 | WATER TUBE-XL X-Long | 1 | |
| 30 | WASHER | 4 | |
| 31 | NUT | 4 |
