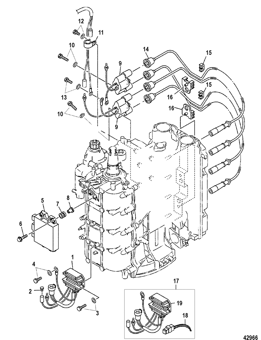
| № | Наименование | Примечание | Кол-во |
|---|---|---|---|
| 1 | ORD 804278A12 (Design I) SNtahos_ 0T409000 & Up | 1 | |
| 2 | COVER | 1 | |
| 3 | BOLT | 2 | |
| 4 | BOLT | 1 | |
| 5 | CDI UNIT SNtahos_ 0T598999 & Below | 1 | |
| 6 | BOLT | 4 | |
| 7 | DAMPER | 4 | |
| 8 | COLLAR | 4 | |
| 9 | COIL-IGNITION | 2 | |
| 10 | BOLT | 4 | |
| 11 | CLAMP | 1 | |
| 12 | BOLT | 1 | |
| 14 | CABLE SET | 1 | |
| 15 | CLAMP | 2 | |
| 16 | CLAMP | 2 | |
| 17 | RECTIFIER/REGULA (Design II) | 1 | |
| 18 | HARNESS SNtahos_ 0T598999 & Below | 1 | |
| 19 | REGULATOR-VOLTAGE | 1 |
